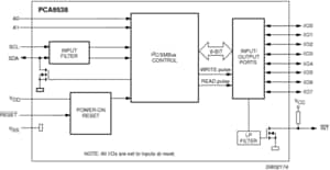
The PCA9538 is a 16-pin CMOS device that provides 8 bits of General Purpose parallel Input/Output (GPIO) expansion with interrupt and reset for I²C-bus/SMBus applications and was developed to enhance the NXP Semiconductors family of I²C-bus I/O expanders. I/O expanders provide a simple solution when additional I/O is needed for ACPI power switches, sensors, push-buttons, LEDs, fans, etc.
The PCA9538 consists of an 8-bit Configuration register (input or output selection), 8-bit Input Port register, 8-bit Output Port register and an 8-bit Polarity Inversion register (active HIGH or active LOW operation). The system controller can enable the I/Os as either inputs or outputs by writing to the I/O configuration bits. The data for each input or output is kept in the corresponding Input Port or Output Port register. The polarity of the Input Port register can be inverted with the Polarity Inversion register. All registers can be read by the system controller.
The PCA9538 is identical to the PCA9554 except for the removal of the internal I/O pull-up resistor which greatly reduces power consumption when the I/Os are held LOW, replacement of A2 with RESET and different address range.
The PCA9538 open-drain interrupt output (INT) is activated when any input state differs from its corresponding Input Port register state and is used to indicate to the system controller that an input state has changed. The power-on reset sets the registers to their default values and initializes the device state machine. The RESET pin causes the same reset/initialization to occur without de-powering the device.
Two hardware pins (A0 and A1) vary the fixed I²C-bus address and allow up to four devices to share the same I²C-bus/SMBus.