アプリケーション・ノート (2)
カタログ (1)
データ・シート (1)
-
4-bit I2C-bus and SMBus I/O port[PCA9536]
パッケージ情報 (2)
ユーザ・ガイド (2)
-
PCA9632 demonstration board OM13269[UM10528]
お客様の素早い設計とより早い製品化を実現する、技術情報と専門知識をご紹介します。
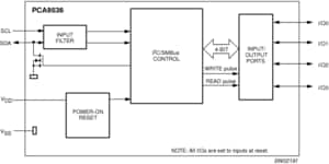
The PCA9536 is an 8-pin CMOS device that provides 4 bits of General Purpose parallel Input/Output (GPIO) expansion for I²C-bus/SMBus applications and was developed to enhance the NXP Semiconductors family of I²C-bus I/O expanders. I/O expanders provide a simple solution when additional I/O is needed for ACPI power switches, sensors, push buttons, LEDs, fans, etc.
The PCA9536 consists of a 4-bit Configuration register (input or output selection), 4-bit Input Port register, 4-bit Output Port register and a 4-bit Polarity Inversion register (active HIGH or active LOW operation). The system controller can enable the I/Os as either inputs or outputs by writing to the I/O configuration bits. The data for each input or output is kept in the corresponding Input Port or Output Port register. The polarity of the read register can be inverted with the Polarity Inversion register. All registers can be read by the system controller.
The power-on reset sets the registers to their default values and initializes the device state machine.
The I²C-bus address is fixed and allows only one device on the same I²C-bus/SMBus.
図を選択する。:
|
|
|
|
|
|
|
|---|---|---|---|---|---|
|
|
|
|
|
|
|
|
|
|
|
|
|
|
|
|
|
|
|
|
|
|
|
|
|
|
|
|
|
|
|
|
|
|
|
|
|
|
|
|
|
|
|
|
|
|
|
|
|
|
|
|
|
|
|
|
|
|
|
|
|
|
|
|
|
|
|
|
|
|
クイック・リファレンス ドキュメンテーションの種類
10 ドキュメント
コンパクトリスト
セキュアファイルの読み込み中、しばらくお待ちください。
4 設計・ファイル
完全な内訳を受け取ります。 製品の設置面積などについては、 eCad ファイル.
セキュアファイルの読み込み中、しばらくお待ちください。
1 エンジニアリング・サービス
There are no results for this selection.
この製品をサポートするその他のパートナー製品を見つけるには、当社の Web サイトにアクセスしてください パートナーマーケットプレイス.