8ビットI²CバスおよびSMBus I/Oポート(割込み対応)

製品画像を見る

製品詳細

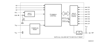
ブロック図

図を選択する。:

PCA9554_9554A

PCA9554_9554A Block Diagram

PCA9554ABS、PCA9554AD

特長

主な特長

  • 動作電源電圧範囲:2.3 V~5.5 V
  • 5 VトレラントI/O
  • 極性反転レジスタ
  • アクティブLowの割込み出力
  • 低スタンバイ電流
  • SCL/SDA入力のノイズ・フィルタ
  • 電源投入時のグリッチなし
  • 内蔵パワーオン・リセット
  • 8本のI/Oピン、デフォルトでは8入力
  • クロック周波数:0 Hz~400 kHz
  • JESD22-A114準拠の2000 V HBM、JESD22-C101準拠の1000 V CDMを上回るESD保護
  • 100 mAを超えるJEDEC規格JESD78に対してラッチアップ試験を実施
  • AEC-Q100に準拠可能
  • 提供パッケージ:DIP16、SO16、SSOP16、SSOP20、TSSOP16、HVQFN16(2バージョン:4 mm x 4 mm x 0.85 mmおよび3 mm x 3 mm x 0.85 mm)、ベア・ダイ

購入/パラメータ










































































































ドキュメント

クイック・リファレンス ドキュメンテーションの種類

1-10 件/全 26 ドキュメント

コンパクトリスト

アプリケーション・ノート (7)
カタログ (2)
サポート情報 (2)
データ・シート (1)
パッケージ情報 (6)
ユーザ・ガイド (1)
レポートまたはプレゼンテーション (1)

デザイン・ファイル

クイック・リファレンス 設計・ファイルの種類.

1-5件/全 16 設計・ファイル

全て表示

ハードウェア

クイック・リファレンス ボードタイプ.

エンジニアリング・サービス

1 エンジニアリング・サービス

この製品をサポートするその他のパートナー製品を見つけるには、当社の Web サイトにアクセスしてください パートナーマーケットプレイス.

サポート

お困りのことは何ですか??