Single-chip 16/32-bit Arm® microcontrollers; 128/256 kB ISP/IAP flash with 10-bit ADC and external memory interface

  • このページでは、新規設計を推奨しない製品に関する情報を掲載しています。

製品画像を見る

製品詳細

ブロック図

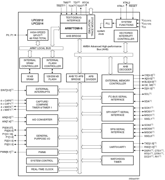
Block diagram: LPC2212FBD144, LPC2214FBD144

Features

2.1 Key features brought by LPC2212/2214/01 devices
  • Fast GPIO ports enable port pin toggling up to 3.5 times faster than the original device. They also allow for a port pin to be read at any time regardless of its function.
  • Dedicated result registers for ADC(s) reduce interrupt overhead. The ADC pads are 5 V tolerant when configured for digital I/O function(s).
  • UART0/1 include fractional baud rate generator, auto-bauding capabilities and handshake flow-control fully implemented in hardware.
  • Buffered SSP serial controller supporting SPI, 4-wire SSI, and Microwire formats.
  • SPI programmable data length and leader mode enhancement.
  • Diversified Code Read Protection (CRP) enables different security levels to be implemented. This feature is available in LPC2212/2214/00 devices as well.
  • General purpose timers can operate as external event counters.

2.2 Key features common for all devices

  • 16/32-bit Arm7TDMI-S microcontroller in a LQFP144 package.
  • 16 kB on-chip static RAM and 128/256 kB on-chip flash program memory. 128-bit wide interface/accelerator enables high speed 60 MHz operation.
  • In-System Programming (ISP) and In-Application Programming (IAP) via on-chip bootloader software. Flash programming takes 1 ms per 512 B line. Single sector or full chip erase takes 400 ms.
  • EmbeddedICE-RT and Embedded Trace interfaces offer real-time debugging with the on-chip RealMonitor software as well as high speed real-time tracing of instruction execution.
  • Eight-channel 10-bit ADC with conversion time as low as 2.44 µs.
  • Two 32-bit timers (with four capture and four compare channels), PWM unit (six outputs), Real-Time Clock and Watchdog.
  • Multiple serial interfaces including two UARTs (16C550), Fast I²C-bus (400 kbit/s) and two SPIs.
  • Vectored Interrupt Controller with configurable priorities and vector addresses.
  • Configurable external memory interface with up to four banks, each up to 16 MB and 8/16/32-bit data width.
  • Up to 112 general purpose I/O pins (5 V tolerant). Up to nine edge or level sensitive external interrupt pins available.
  • 60 MHz maximum CPU clock available from programmable on-chip Phase-Locked Loop with settling time of 100 µs.
  • On-chip crystal oscillator with an operating range of 1 MHz to 30 MHz.
  • Two low power modes, Idle and Power-down.
  • Processor wake-up from Power-down mode via external interrupt.
  • Individual enable/disable of peripheral functions for power optimization.
  • Dual power supply:
    • CPU operating voltage range of 1.65 V to 1.95 V (1.8 V ± 0.15 V).
    • I/O power supply range of 3.0 V to 3.6 V (3.3 V ± 10 %) with 5 V tolerant I/O pads.

購入/パラメータ










































































































ドキュメント

クイック・リファレンス ドキュメンテーションの種類

1-10 件/全 25 ドキュメント

コンパクトリスト

アプリケーション・ノート (16)
エラッタ (2)
カタログ (1)
サポート情報 (3)
データ・シート (1)
パッケージ情報 (1)
ユーザ・ガイド (1)

デザイン・ファイル

ソフトウェア

クイック・リファレンス ソフトウェア・タイプ.

1 ソフトウェア・ファイル

注: より快適にご利用いただくために、ソフトウェアのダウンロードはデスクトップで行うことを推奨します。

サポート

お困りのことは何ですか??