16/32-bit Arm® microcontrollers; flashless, with 10-bit ADC and external memory interface

  • このページでは、新規設計を推奨しない製品に関する情報を掲載しています。

製品画像を見る

製品詳細

ブロック図

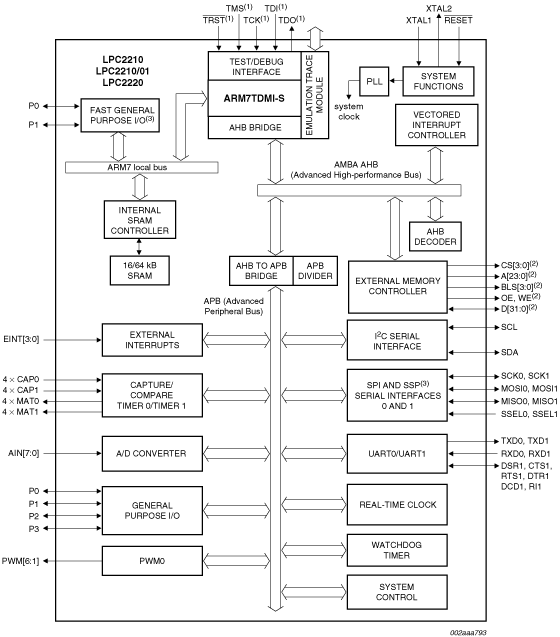
Block diagram: LPC2210FBD144, LPC2220FBD144, LPC2220FET144

Features

  • 16/32-bit Arm7TDMI-S microcontroller in a LQFP144 and TFBGA144 package.
  • 16/64 kB on-chip static RAM (LPC2210/2220).
  • Serial bootloader using UART0 provides in-system download and programming capabilities.
  • EmbeddedICE-RT and Embedded Trace interfaces offer real-time debugging with the on-chip RealMonitor software as well as high-speed real-time tracing of instruction execution.
  • Eight channel 10-bit ADC with conversion time as low as 2.44 us.
    • LPC2210/01 and LPC2220 only: Dedicated result registers for ADC(s) reduce interrupt overhead. The ADC pads are 5 V tolerant when configured for digital I/O function(s).
  • Two 32-bit timers (LPC2220 and LPC2210/01 also external event counters) with four capture and four compare channels, PWM unit (six outputs), Real-Time Clock (RTC), and watchdog.
  • Multiple serial interfaces including two UARTs (16C550), Fast I²C-bus (400 kbit/s) and two SPIs.
    • LPC2210/01 and LPC2220 only: A Synchronous Serial Port (SSP) with data buffers and variable length transfers can be selected to replace one SPI.
    • LPC2210/01 and LPC2220 only: UART0/1 include fractional baud rate generator, auto-bauding capabilities, and handshake flow-control fully implemented in hardware.
  • Vectored Interrupt Controller (VIC) with configurable priorities and vector addresses.
  • Configurable external memory interface with up to four banks, each up to 16 MB and 8/16/32-bit data width.
  • Up to 76 general purpose pins (5 V tolerant) capable. Up to nine edge/level sensitive external interrupt pins available.
    • LPC2210/01 and LPC2220 only: Fast GPIO ports enable port pin toggling up to 3.5 times faster than the original device. They also allow for a port pin to be read at any time regardless of its function.
  • 60 MHz (LPC2210) and 75 MHz (LPC2210/01 and LPC2220) maximum CPU clock available from programmable on-chip Phase-Locked Loop (PLL) with settling time of 100 us.
  • On-chip integrated oscillator operates with external crystal in range of 1 MHz to 25 MHz and with external oscillator up to 25 MHz.
  • Power saving modes include Idle and Power-down.
  • Processor wake-up from Power-down mode via external interrupt.
  • Individual enable/disable of peripheral functions for power optimization.
  • Dual power supply:
    • CPU operating voltage range of 1.65 V to 1.95 V (1.8 V +- 0.15 V).
    • I/O power supply range of 3.0 V to 3.6 V (3.3 V +- 10 pct) with 5 V tolerant I/O pads. 16/32-bit ARM7TDMI-S processor.

購入/パラメータ










































































































ドキュメント

クイック・リファレンス ドキュメンテーションの種類

1-10 件/全 30 ドキュメント

コンパクトリスト

アプリケーション・ノート (21)
エラッタ (2)
カタログ (2)
サポート情報 (2)
データ・シート (1)
パッケージ情報 (1)
ユーザ・ガイド (1)

デザイン・ファイル

クイック・リファレンス 設計・ファイルの種類.

1 設計・ファイル

ソフトウェア

クイック・リファレンス ソフトウェア・タイプ.

1 ソフトウェア・ファイル

注: より快適にご利用いただくために、ソフトウェアのダウンロードはデスクトップで行うことを推奨します。

サポート

お困りのことは何ですか??