Arm7 with 512 kB flash, 98 kB SRAM, Ethernet, USB 2.0 Device, CAN, and 10-bit ADC

  • このページでは、新規設計を推奨しない製品に関する情報を掲載しています。

製品画像を見る

製品詳細

ブロック図

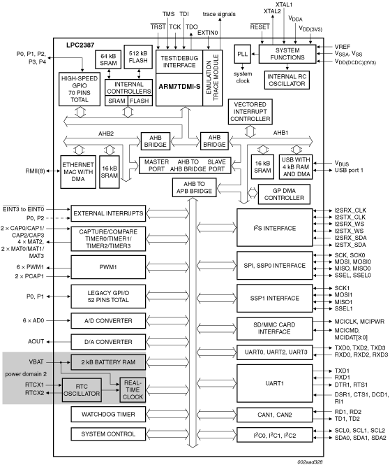
Block diagram: LPC2387FBD100

Features

  • Arm7TDMI-S processor, running at up to 72 MHz
  • 512 kB on-chip flash program memory
  • 64 kB of SRAM on the Arm local bus for high performance CPU access
  • 16 kB SRAM for Ethernet interface. Can also be used as general purpose SRAM
  • 16 kB SRAM for general purpose DMA use also accessible by the USB
  • Dual Advanced High-performance Bus (AHB) system
  • Advanced Vectored Interrupt Controller (VIC)
  • General Purpose DMA (GPDMA) on AHB controller
  • Ethernet MAC with associated DMA controller
  • USB 2.0 device/host/OTG with on-chip PHY and associated DMA controller
  • Four UARTs with fractional baud rate generation
  • CAN controller with two channels
  • SPI controller
  • Two SSP controllers, with FIFO and multi-protocol capabilities
  • Three I2C-bus interfaces (one with open-drain and two with standard port pins)
  • I2S (Inter-IC Sound) interface for digital audio input or output
  • SD/MMC memory card interface
  • 70 general purpose I/O pins with configurable pull-up/down resistors
  • 10-bit ADC with input multiplexing among 6 pins
  • 10-bit DAC
  • Four general purpose timers/counters
  • One PWM/timer block with support for three-phase motor control
  • Real-Time Clock (RTC)
  • 2 kB SRAM powered from the RTC power pin
  • WatchDog Timer (WDT)
  • Standard Arm test/debug interface for compatibility with existing tools
  • Emulation trace module supports real-time trace
  • Single 3.3 V power supply (3.0 V to 3.6 V)
  • Four reduced power modes: idle, sleep, power-down, and deep power-down
  • Four external interrupt inputs configurable as edge/level sensitive
  • Processor wake-up from Power-down mode via any interrupt
  • Two independent power domains allow fine tuning of power consumption
  • Each peripheral has its own clock divider for further power saving
  • Brownout detect with separate thresholds for interrupt and forced reset
  • On-chip power-on reset
  • On-chip crystal oscillator with an operating range of 1 MHz to 25 MHz
  • 4 MHz internal RC oscillator trimmed to 1 % accuracy
  • On-chip PLL

Target Applications

  • Industrial control
  • Medical systems
  • Protocol converter
  • Communications

購入/パラメータ










































































































ドキュメント

クイック・リファレンス ドキュメンテーションの種類

1-10 件/全 19 ドキュメント

コンパクトリスト

アプリケーション・ノート (8)
エラッタ (1)
カタログ (3)
サポート情報 (4)
データ・シート (1)
パッケージ情報 (1)
ユーザ・ガイド (1)

デザイン・ファイル

クイック・リファレンス 設計・ファイルの種類.

1 設計・ファイル

ソフトウェア

クイック・リファレンス ソフトウェア・タイプ.

2 ソフトウェア・ファイル

注: より快適にご利用いただくために、ソフトウェアのダウンロードはデスクトップで行うことを推奨します。

サポート

お困りのことは何ですか??