16/32-bit Arm® microcontrollers; 256 kB ISP/IAP flash with CAN, 10-bit ADC and external memory interface

  • このページでは、新規設計を推奨しない製品に関する情報を掲載しています。

製品画像を見る

製品詳細

ブロック図

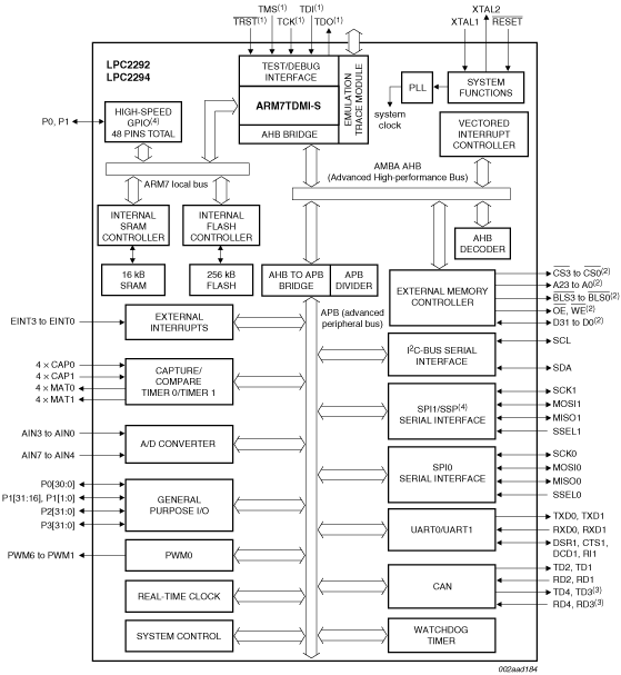
Block diagram: LPC2292FBD144, LPC2292FET144, LPC2294HBD144

Features

Key features brought by LPC2292/2294/01 devices
  • Fast GPIO ports enable port pin toggling up to 3.5 times faster than the original device. They also allow for a port pin to be read at any time regardless of its function.
  • Dedicated result registers for ADC(s) reduce interrupt overhead. The ADC pads are 5 V tolerant when configured for digital I/O function(s).
  • UART0/1 include fractional baud rate generator, auto-bauding capabilities and handshake flow-control fully implemented in hardware.
  • Buffered SSP serial controller supporting SPI, 4-wire SSI, and Microwire formats.
  • SPI programmable data length and leader mode enhancement.
  • Diversified Code Read Protection (CRP) enables different security levels to be implemented. This feature is available in LPC2292/2294/00 devices as well.
  • General purpose timers can operate as external event counters.

Key features common for all devices

  • 16/32-bit Arm7TDMI-S microcontroller in a LQFP144 package.
  • 16 kB on-chip static RAM and 256 kB on-chip flash program memory. 128-bit wide interface/accelerator enables high-speed 60 MHz operation.
  • In-System Programming/In-Application Programming (ISP/IAP) via on-chip bootloader software. Single flash sector or full chip erase in 400 ms and programming of 256 B in 1 ms.
  • EmbeddedICE-RT and Embedded Trace interfaces offer real-time debugging with the on-chip RealMonitor software as well as high-speed real-time tracing of instruction execution.
  • Two/four (LPC2292/2294) interconnected CAN interfaces with advanced acceptance filters. Additional serial interfaces include two UARTs (16C550), Fast I²C-bus (400 kbit/s) and two SPIs.
  • Eight channel 10-bit ADC with conversion time as low as 2.44 µs.
  • Two 32-bit timers (with four capture and four compare channels), PWM unit (six outputs), Real-Time Clock (RTC), and watchdog.
  • Vectored Interrupt Controller (VIC) with configurable priorities and vector addresses.
  • Configurable external memory interface with up to four banks, each up to 16 MB and 8/16/32-bit data width.
  • Up to 112 general purpose I/O pins (5 V tolerant). Up to nine edge/level sensitive external interrupt pins available.
  • 60 MHz maximum CPU clock available from programmable on-chip PLL with settling time of 100 µs.
  • The on-chip crystal oscillator should have an operating range of 1 MHz to 25 MHz.
  • Power saving modes include Idle and Power-down.
  • Processor wake-up from Power-down mode via external interrupt.
  • Individual enable/disable of peripheral functions for power optimization.
  • Dual power supply:
    • CPU operating voltage range of 1.65 V to 1.95 V (1.8 V ± 0.15 V).
    • I/O power supply range of 3.0 V to 3.6 V (3.3 V ± 10 %) with 5 V tolerant I/O pads.

購入/パラメータ










































































































ドキュメント

クイック・リファレンス ドキュメンテーションの種類

1-10 件/全 27 ドキュメント

コンパクトリスト

アプリケーション・ノート (19)
エラッタ (2)
カタログ (1)
サポート情報 (2)
データ・シート (1)
パッケージ情報 (1)
ユーザ・ガイド (1)

デザイン・ファイル

クイック・リファレンス 設計・ファイルの種類.

2 設計・ファイル

ソフトウェア

クイック・リファレンス ソフトウェア・タイプ.

1 ソフトウェア・ファイル

注: より快適にご利用いただくために、ソフトウェアのダウンロードはデスクトップで行うことを推奨します。

サポート

お困りのことは何ですか??