サポート情報 (2)
-
Footprint for Wave Soldering[SO-SOJ-WAVE]
-
Footprint for reflow soldering[SO-SOJ-REFLOW]
セレクタ・ガイド (1)
-
リアルタイム・ クロック[RTCSelectorGuideA4]
データ・シート (1)
-
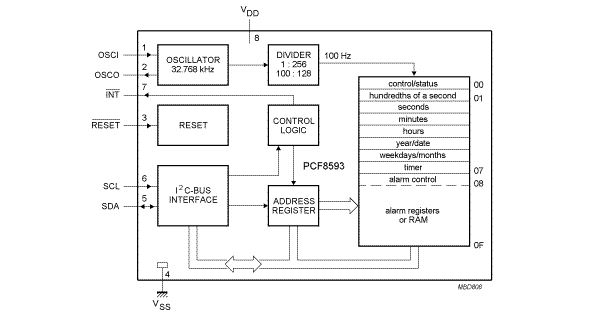
Low Power Clock and Calendar[PCF8593]
