LCD Controllers/Drivers

ブロック図

図を選択する。:

PCF2119X

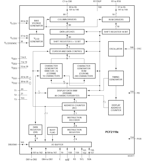
PCF2119X Block Diagram

PCF2119AU, PCF2119DU, PCF2119FU, PCF2119RU, PCF2119SU, PCF2119VU

Features

  • Single-chip LCD controller and driver
  • 2-line display of up to 16 characters plus 160 icons or 1-line display of up to 32 characters plus 160 icons
  • 5 × 7 character format plus cursor; 5 × 8 for kana (Japanese) and user defined symbols
  • Reduced current consumption while displaying icons only
  • Icon blink function
  • On-chip:
    • Configurable 4, 3, or 2 times voltage multiplier generating LCD supply voltage, independent of VDD, programmable by instruction (external supply also possible)
    • Temperature compensation of on-chip generated VLCDOUT: -0.16 %/K to -0.24 %/K (programmable by instruction)
    • Generation of intermediate LCD bias voltages
    • Oscillator requires no external components (external clock also possible)
  • Display Data RAM (DDRAM): 80 characters
  • Character Generator ROM (CGROM): 240 characters (5 × 8)
  • Character Generator RAM (CGRAM): 16 characters (5 × 8); 4 characters used to drive 160 icons, 8 characters used if icon blink feature is used in application
  • 4-bit or 8-bit parallel bus and 2-wire I²C-bus interface
  • Manufactured in silicon gate CMOS process
  • 18 row and 80 column outputs
  • Multiplex rates 1:18 (2-line display or 1-line display), 1:9 (for 1-line display of up to 16 characters and 80 icons) and 1:2 (for icon only mode)
  • Uses common 11 code instruction set (extended)
  • Logic supply voltage: VDD1 - VSS1 = 1.5 V to 5.5 V (chip may be driven with two battery cells)
  • LCD supply voltage: VLCDOUT - VSS2 = 2.2 V to 6.5 V
  • VLCD generator supply voltage: VDD2 - VSS2 = 2.2 V to 4 V and VDD3 - VSS2 = 2.2 V to 4 V
  • Direct mode to save current consumption for icon mode and multiplex drive mode 1:9 (depending on VDD2 value and LCD liquid properties)
  • Very low current consumption (20 μA to 200 μA):
    • Icon mode: < 25 μA
    • Power-down mode: < 2 μA
  • Icon mode is used to save current. When only icons are displayed, a much lower LCD operating voltage can be used and the switching frequency of the LCD outputs is reduced; in most applications it is possible to use VDD as LCD supply voltage

購入/パラメータ










































































































ドキュメント

クイック・リファレンス ドキュメンテーションの種類

1-10 件/全 12 ドキュメント

コンパクトリスト

アプリケーション・ノート (4)
カタログ (1)
セレクタ・ガイド (1)
データ・シート (1)
パッケージ情報 (1)
ホワイト・ペーパ (1)
ユーザ・ガイド (3)

デザイン・ファイル

エンジニアリング・サービス

2 エンジニアリング・サービス

この製品をサポートするその他のパートナー製品を見つけるには、当社の Web サイトにアクセスしてください パートナーマーケットプレイス.

サポート

お困りのことは何ですか??