Universal LCD Driver for Low Multiplex Rates

  • このページでは、新規設計を推奨しない製品に関する情報を掲載しています。

製品詳細

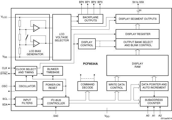
ブロック図

PCF8534AH, PCF8534AHL, PCF8534AU

Features

Key Features

  • AEC-Q100 compliant (PCF8534AH/1) for automotive applications
  • Single-chip LCD controller and driver
  • Selectable backplane drive configurations: static or 2, 3, or 4 backplane multiplexing
  • Cascading supported for larger applications
  • 60 x 4-bit display data storage RAM
  • Wide LCD supply range: from 2.5 V for low threshold LCDs up to 6.5 V for high threshold twisted nematic LCDs
  • Internal LCD bias generation with voltage follower buffers
  • Selectable display bias configurations: static, ¹/2, or ¹/3
  • Wide logic power supply range: from 1.8 V to 5.5 V
  • LCD and logic supplies may be separated
  • Low power consumption
  • 400 kHz I²C-bus interface
  • No external components required
  • Display memory bank switching in static and duplex drive modes
  • Versatile blinking modes
  • Silicon gate CMOS process

60 Segment Outputs Allowing to Drive

  • 30 7-segment numeric characters
  • 15 14-segment alphanumeric characters
  • Any graphics of up to 240 elements

購入/パラメータ










































































































ドキュメント

クイック・リファレンス ドキュメンテーションの種類

1 ドキュメント

コンパクトリスト

デザイン・ファイル

エンジニアリング・サービス

2 エンジニアリング・サービス

この製品をサポートするその他のパートナー製品を見つけるには、当社の Web サイトにアクセスしてください パートナーマーケットプレイス.

サポート

お困りのことは何ですか??