Kinetis® KL2x-72/96 MHz, USB Ultra-Low-Power Microcontrollers (MCUs) based on Arm® Cortex®-M0+ Core
デザイン・ファイル
完全な内訳を受け取ります。 製品の設置面積などについては、 eCad ファイル.
お客様の素早い設計とより早い製品化を実現する、技術情報と専門知識をご紹介します。
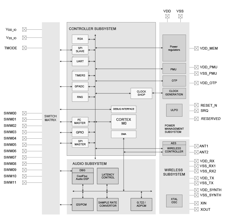
The NxH3670 constitutes a highly integrated, single-chip ultra-low-power 2.4 GHz wireless transceiver with embedded MCU (Integrated Arm® Cortex®-M0 processor), targeted at wireless audio streaming for gaming headphones, delivering low latency audio and ultra-low power consumption.
The NxH3670 runs a proprietary wireless audio streaming protocol which has been optimized for wireless gaming headset applications, providing high-quality forward audio streaming at low latency (<20ms) combined with a simultaneous voice microphone backchannel. Additionally, a wireless bidirectional data channel is available.
While primarily designed for headsets, this solution can also enable wireless audio streaming for household and office devices like soundbars, wireless speakers, wireless Subwoofers and more.
Overall, the NxH3670 delivers a small form factor with long battery life while reducing overall weight and size.
| Description | Features | Applications |
|---|---|---|
| The WB9770-00 module from JORJIN is a wireless audio module targeting at wireless audio streaming for hearables, wireless headsets and headphones applications. This module is based on NXP NXH3670 and KL27. |
|
Wireless gaming / communication headsets
|
|
|
|
|
|
|
|
|---|---|---|---|---|---|
|
|
|
|
|
|
|
|
|
|
|
|
|
|
|
|
|
|
|
|
|
|
|
|
|
|
|
|
|
|
|
|
|
|
|
|
|
|
|
|
|
|
|
|
|
|
|
|
|
|
|
|
|
|
|
|
|
|
|
|
|
|
|
|
|
|
|
|
|
|
クイック・リファレンス ドキュメンテーションの種類
8 ドキュメント
コンパクトリスト
セキュアファイルの読み込み中、しばらくお待ちください。
クイック・リファレンス ソフトウェア・タイプ.
1 ソフトウェア・ファイル
注: より快適にご利用いただくために、ソフトウェアのダウンロードはデスクトップで行うことを推奨します。
セキュアファイルの読み込み中、しばらくお待ちください。
1-5 件/全 9 エンジニアリング・サービス
There are no results for this selection.
この製品をサポートするその他のパートナー製品を見つけるには、当社の Web サイトにアクセスしてください パートナーマーケットプレイス.
1 トレーニング