System Basis Chip with High Speed CAN

画像にカーソルを合わせると拡大表示されます。

製品詳細

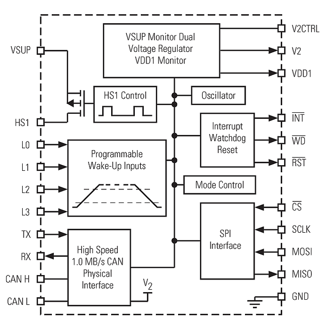
ブロック図

MC33989 BD

 MC33989 BD

Features

  • Low-drop voltage regulator with current limiting,over temperature pre-warning, and output monitoring with reset
  • Adjustable external series pass PNP regulator
  • Normal, standby, stop and sleep modes separate from CAN interface modes
  • 150 mA switched V BAT output for control of external circuitry
  • Four external wake-up inputs, associated with switched V BAT
  • Low standby and sleep current
  • V BAT monitoring and V BAT failure detection
  • 40 V maximum transient voltage
  • Software programmable watch-dog window, interrupt, and reset
  • Multiple wake-up modes
  • SPI interface to MCU
  • Utility for HS1 Vbat switch allowing drive of external switches pull up resistors or relays

Product Longevity Program

  • This product is included in the NXP Product Longevity Program ensuring a stable supply of products for your embedded designs. The MC33989 is included in the 15-year program

購入/パラメータ










































































































ドキュメント

クイック・リファレンス ドキュメンテーションの種類

5 ドキュメント

コンパクトリスト

アプリケーション・ノート (2)
エラッタ (1)
データ・シート (1)
パッケージ情報 (1)

デザイン・ファイル

エンジニアリング・サービス

4 エンジニアリング・サービス

この製品をサポートするその他のパートナー製品を見つけるには、当社の Web サイトにアクセスしてください パートナーマーケットプレイス.

サポート

お困りのことは何ですか??