Product Longevity
Participating products are available for a minimum of 10 years. Designated participating products developed for the automotive, telecom and medical segments are available for a minimum of 15 years.
お客様の素早い設計とより早い製品化を実現する、技術情報と専門知識をご紹介します。
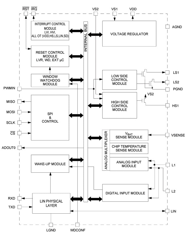
The 33911 is a Serial Peripheral Interface (SPI)-controlled System Basis Chip (SBC) combining many frequently used functions in an MCU-based system, plus a Local Interconnect Network (LIN) transceiver. The 33911 has a 5.0V - 50mA low dropout regulator with full protection and reporting features. The device provides full SPI-readable diagnostics and a selectable timing watchdog for detecting errant operation. The LIN Protocol Specification 2.0 and 2.1 ('G5AC) compliant LIN transceiver, has waveshaping circuitry that can be disabled for higher data rates.
One 60mA high side switch and two 160mA low side switches with output protection are available for driving resistive and inductive loads. All outputs can be pulse-width modulated (PWM). Two high-voltage inputs are available for use in contact monitoring, or as external wake-up inputs. These inputs can be used as high-voltage analog Inputs. The voltage on theses pins is divided by a selectable ratio and available via an analog multiplexer.
The 33911 has three main operating modes: Normal (all functions available), Sleep (VDD off, wake-up via LIN, wake-up inputs (L1,L2), cyclic sense, and forced wake-up), and Stop (VDD on with limited current capability, wake-up via CS, LIN bus, wake-up inputs, cyclic sense, forced wake-up, and external reset).
The 33911 is compatible with LIN Protocol Specification 2.0, 2.1 ('G5AC) and SAEJ2602-2 ('G5AC).

Participating products are available for a minimum of 10 years. Designated participating products developed for the automotive, telecom and medical segments are available for a minimum of 15 years.
|
|
|
|
|
|
|
|---|---|---|---|---|---|
|
|
|
|
|
|
|
|
|
|
|
|
|
|
|
|
|
|
|
|
|
|
|
|
|
|
|
|
|
|
|
|
|
|
|
|
|
|
|
|
|
|
|
|
|
|
|
|
|
|
|
|
|
|
|
|
|
|
|
|
|
|
|
|
|
|
|
|
|
|
クイック・リファレンス ドキュメンテーションの種類
6 ドキュメント
コンパクトリスト
セキュアファイルの読み込み中、しばらくお待ちください。
クイック・リファレンス ソフトウェア・タイプ.
1 ソフトウェア・ファイル
注: より快適にご利用いただくために、ソフトウェアのダウンロードはデスクトップで行うことを推奨します。
セキュアファイルの読み込み中、しばらくお待ちください。
4 エンジニアリング・サービス
There are no results for this selection.
この製品をサポートするその他のパートナー製品を見つけるには、当社の Web サイトにアクセスしてください パートナーマーケットプレイス.