LIN SBC with DC Motor Predriver and Current Sense

製品画像を見る

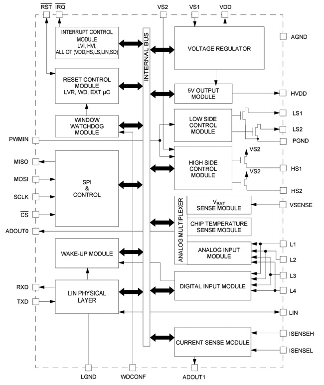
ブロック図

Freescale MC33912 Network Transceivers

NXP<sup>&#174;</sup> MC33912 Network Transceivers Block Diagram

Features

Key Features

  • Full-duplex SPI interface at frequencies up to 4MHz
  • LIN transceiver capable of up to 100kbps with wave shaping
  • Two 60mA high side and two 160mA low side protected switches
  • Four high voltage analog/logic Inputs
  • Configurable window watchdog
  • 5.0V low drop regulator with fault detection and low voltage reset (LVR) circuitry
  • Current sense module
  • Switched/protected 5.0V output (used for Hall sensors)
  • IEC61000-4-2 ESD performance on LIN and Wake up inputs ('G5AC)
  • EMC immunity against RF disturbance and Transient and Conducted Emissions ('G5AC)

購入/パラメータ










































































































ドキュメント

クイック・リファレンス ドキュメンテーションの種類

9 ドキュメント

コンパクトリスト

アプリケーション・ノート (3)
カタログ (1)
データ・シート (1)
ユーザ・ガイド (4)

デザイン・ファイル

ハードウェア

クイック・リファレンス ボードタイプ.

3 ハードウェア提供

ソフトウェア

クイック・リファレンス ソフトウェア・タイプ.

1 ソフトウェア・ファイル

注: より快適にご利用いただくために、ソフトウェアのダウンロードはデスクトップで行うことを推奨します。

エンジニアリング・サービス

4 エンジニアリング・サービス

この製品をサポートするその他のパートナー製品を見つけるには、当社の Web サイトにアクセスしてください パートナーマーケットプレイス.

サポート

お困りのことは何ですか??