TJA1104, MACsec対応ASIL B準拠車載用イーサネット100BASE-T1 PHYトランシーバ

画像にカーソルを合わせると拡大表示されます。

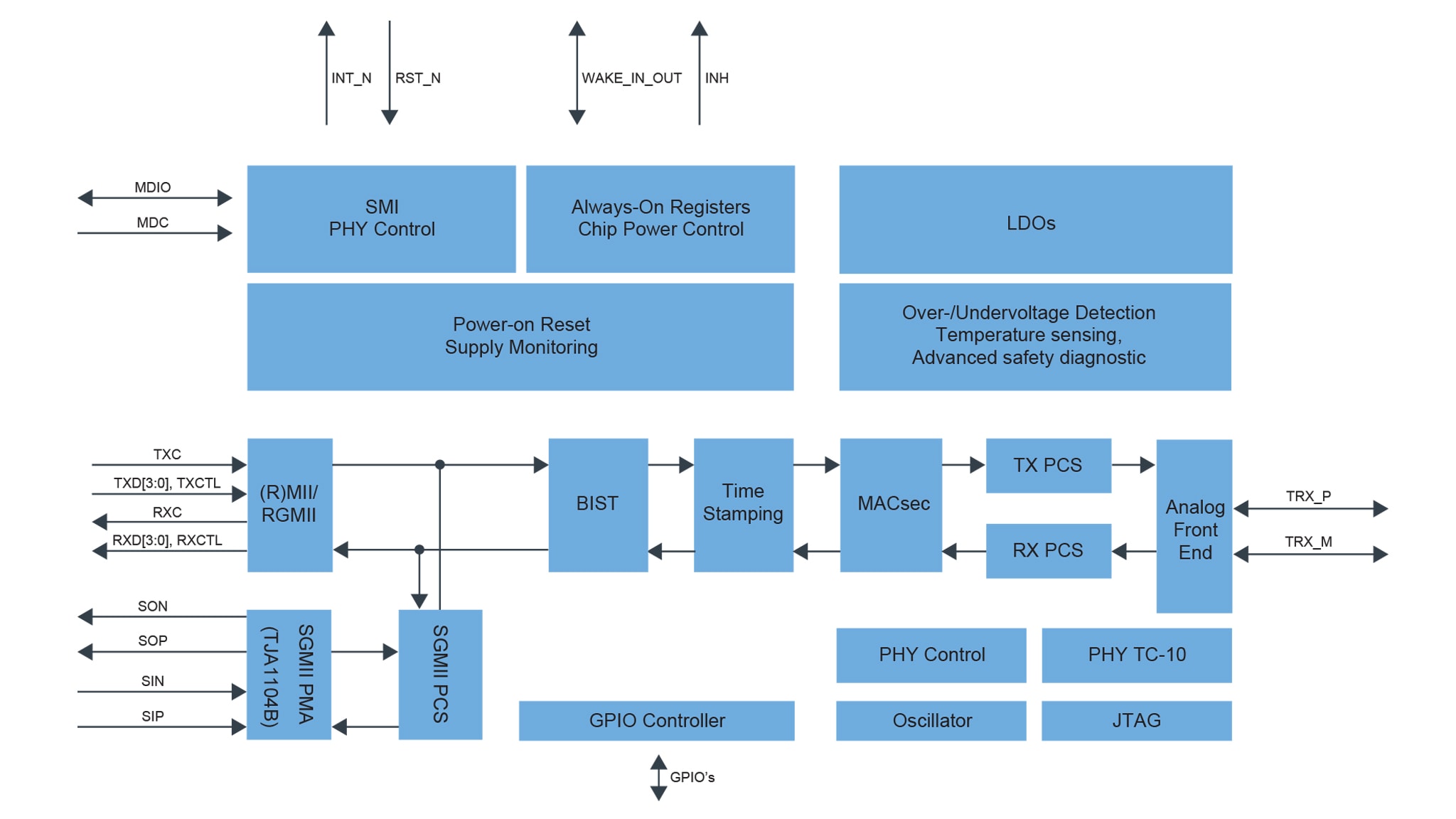
ブロック図

MACsec対応100BASE-T1イーサネットPHY

TJA1104-BD

特長

主な特長

  • 有線接続のパフォーマンスを損なわずにIEEE 802.1AE-2018 MACsecに対応
  • 機能安全:ISO 26262 ASIL B準拠
  • IEEE802.3bw準拠の100BASE-T1 PHY
  • OPEN Alliance TC-1の高度なPHY機能
  • IEEE1588v2/802.1AS準拠のタイム・スタンプ
  • OPEN Alliance TC-10準拠のスリープ/ウェイクアップ
  • 単一電源機能
  • HVQFN36 (6 x 6 mm)、ウェッタブル・フランク付き
  • 車載向けに最適化
  • 起動セルフ・テスト内蔵
  • AEC-Q100グレード1に準拠

高い拡張性

  • TJA1103とのドロップイン互換性
  • TJA1120とのドロップイン互換性
  • 最適化されたプラットフォーム設計が可能

重要なお知らせ

  • TJA1104のチップ、ドキュメント、ソフトウェアは、NDAを締結している一部のお客様にのみ提供しています。詳しい情報については、サポートまたは営業担当者にお問い合わせください

購入/パラメータ










































































































ドキュメント

クイック・リファレンス ドキュメンテーションの種類

2 ドキュメント

コンパクトリスト

デザイン・ファイル

クイック・リファレンス 設計・ファイルの種類.

ハードウェア

クイック・リファレンス ボードタイプ.

1-5 件/全 6 ハードウェア提供

全て表示

ソフトウェア

クイック・リファレンス ソフトウェア・タイプ.

2 ソフトウェア・ファイル

  • BSPとデバイスドライバ

    TJA11xx Linux driver for IEEE 802.3 Clause 45 managed PHYs

  • BSPとデバイスドライバ

    XJA11XX Ethernet Phy Real-Time Drivers AUTOSAR 4.4 (ISO26262) License

注: より快適にご利用いただくために、ソフトウェアのダウンロードはデスクトップで行うことを推奨します。

サポート

お困りのことは何ですか??