4ビットFm+ I²Cバス低消費電力LEDドライバ

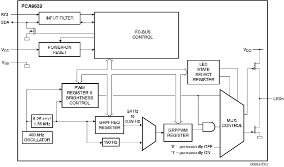
ブロック図

図を選択する。:

PCA9632のブロック図

PCA9632 BLOCK DIAGRAM

ブロック図:PCA9632DP1、PCA9632DP2、PCA9632TK、PCA9632TK2

特長

  • PCA9633と比較して消費電力を1/40に削減
  • 4つのLEDドライバ。各出力を次のいずれかにプログラム可能。
    • オフ
    • オン
    • プログラム可能なLED輝度
    • 個別のLED輝度を組み合わせたプログラム可能なグループ調光/点滅
  • 高キャパシタンスのバスの駆動用としてSDA出力に30 mAの高い駆動能力を備えた、1 MHzファストモード・プラスI²Cバス・インターフェース
  • 個別輝度モードで1.5625 kHzのPWM信号を使用して、完全オフ(デフォルト)から最大輝度までLED出力ごとに256ステップ(8ビット)でリニア・プログラム可能な輝度
  • グループ調光モードで6.25 kHzのPWM信号を使用して、完全オフ(デフォルト)から最大輝度までLED出力ごとに64ステップ(6ビット)でリニア・プログラム可能な輝度
  • グループ調光モードでは、16ステップのグループ輝度制御により、完全オフから最大輝度(デフォルト)までのグローバル調光(190 HzのPWM信号を使用)が可能
  • グループ調光モードで1.5625 kHzのPWM信号を使用して、完全オフ(デフォルト)から最大輝度までLED出力ごとに256ステップ(8ビット)でリニア・プログラム可能な輝度
  • 24 Hz~6 Hzのプログラム可能な周波数と0~98.4%のデューティ・サイクルによる64ステップのグループ点滅
  • 6 Hz~0.09 Hz(10.73秒周期)のプログラム可能な周波数と0~99.6%のデューティ・サイクルによる256ステップのグループ点滅
  • ソフトウェアでプログラム可能なオープン・ドレインLED出力選択(デフォルトでハイインピーダンス)を備えた4つのトーテムポール出力(5 Vでシンク25 mA、ソース10 mA)。入力機能なし
  • 10ピン・パッケージは、2つのハードウェア・アドレス・ピンを備え、同じバス上で4つのデバイスの動作に対応
  • AcknowledgeコマンドまたはSTOPコマンドでプログラム可能な出力状態変更により、出力をバイト単位またはすべて同時に更新(デフォルトは「STOPで変更」)
  • ソフトウェア・リセット機能(SWRSTコール)により、I²Cバスを介してデバイスをリセット可能
  • 400 kHzの内部発振器は外部コンポーネントが不要
  • 内蔵パワーオン・リセット
  • SDA/SCL入力のノイズ・フィルタ
  • 出力でのエッジ・レート制御
  • 電源投入時のグリッチなし
  • 活線挿入をサポート
  • 低スタンバイ電流:1 μA未満
  • 動作電源電圧範囲:2.3 V~5.5 V
  • 5.5 Vトレラント入力
  • -40°C~+85°Cで動作
  • JESD22-A114準拠の5000 V HBM、JESD22-C101準拠の1000 V CDMを超えるESD保護
  • 100 mAを超えるJEDEC規格JESD78に対してラッチアップ試験を実施
  • 提供されるパッケージ:TSSOP8、TSSOP10、HVSON8、HVSON10

購入/パラメータ










































































































ドキュメント

クイック・リファレンス ドキュメンテーションの種類

1-10 件/全 17 ドキュメント

コンパクトリスト

アプリケーション・ノート (1)
カタログ (3)
サポート情報 (1)
データ・シート (1)
パッケージ情報 (4)
ユーザ・ガイド (4)

デザイン・ファイル

クイック・リファレンス 設計・ファイルの種類.

4 設計・ファイル

ハードウェア

クイック・リファレンス ボードタイプ.

2 ハードウェア提供

サポート

お困りのことは何ですか??