
絶対デジタル圧力センサ(20~110 kPa)
お客様の素早い設計とより早い製品化を実現する、技術情報と専門知識をご紹介します。
2026年2月2日付で、NXP の MEMS センサー製品は STMicroelectronics に移管されました。詳細につきましては、STMicroelectronics までお問い合わせください。
FXPS7115DI4ST1およびFXPS7115DS4ST1は、FXPS7115DI4T1およびFXPS7115DS4T1の販売終了に伴い、新しい設計に推奨されるデバイスです。
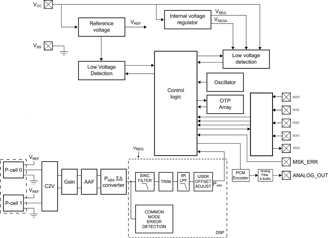
高性能、高精度の絶対気圧 (BAP) センサであるFXPS7115D4は、コンパクトな静電容量式MEMSデバイスにデジタル集積回路を組み合わせ、完全に較正されたデジタル出力を生成します。
このセンサは、40 kPa~115 kPaの圧力範囲および−40°C~130°Cの温度範囲で動作します。AEC-Q100に準拠し、高精度で、性能の信頼性に優れ、高い媒体耐性を備えているため、車載用、産業用、および民生用アプリケーションでの使用に最適です。

|
|
|
|
|
|
|
|---|---|---|---|---|---|
|
|
|
|
|
|
|
|
|
|
|
|
|
|
|
|
|
|
|
|
|
|
|
|
|
|
|
|
|
|
|
|
|
|
|
|
|
|
|
|
|
|
|
|
|
|
|
|
|
|
|
|
|
|
|
|
|
|
|
|
|
|
|
|
|
|
|
|
|
|
クイック・リファレンス ドキュメンテーションの種類
3 ドキュメント
コンパクトリスト
セキュアファイルの読み込み中、しばらくお待ちください。
クイック・リファレンス ソフトウェア・タイプ.
1 ソフトウェア・ファイル
注: より快適にご利用いただくために、ソフトウェアのダウンロードはデスクトップで行うことを推奨します。
セキュアファイルの読み込み中、しばらくお待ちください。
1 エンジニアリング・サービス
There are no results for this selection.
この製品をサポートするその他のパートナー製品を見つけるには、当社の Web サイトにアクセスしてください パートナーマーケットプレイス.