アプリケーション・ノート (1)
-
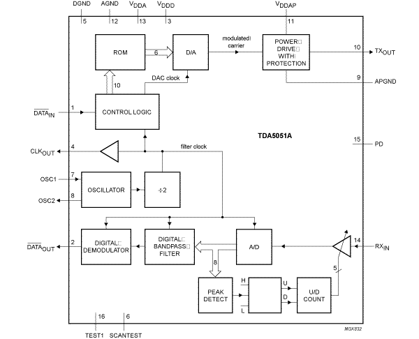
TDA5051A ASK power line modem[AN10903]
データ・シート (1)
-
Home automation modem[TDA5051A]
お客様の素早い設計とより早い製品化を実現する、技術情報と専門知識をご紹介します。
The TDA5051A is a modem IC, specifically dedicated to ASK transmission by means of the home power supply network, at 600 baud or 1200 baud data rate. It operates from a single 5 V supply.

注: 製品の特徴を見るには、このウィンドウを閉じます。.
|
|
|
|
|
|
|
|---|---|---|---|---|---|
|
|
|
|
|
|
|
|
|
|
|
|
|
|
|
|
|
|
|
|
|
|
|
|
|
|
|
|
|
|
|
|
|
|
|
|
|
|
|
|
|
|
|
|
|
|
|
|
|
|
|
|
|
|
|
|
|
|
|
|
|
|
|
|
|
|
|
|
|
|
クイック・リファレンス ドキュメンテーションの種類
7 ドキュメント
コンパクトリスト
セキュアファイルの読み込み中、しばらくお待ちください。