アプリケーション・ノート (7)
カタログ (1)
データ・シート (1)
-
I²C-bus controller[PCF8584]
パッケージ情報 (1)
ユーザ・ガイド (1)
レポートまたはプレゼンテーション (1)
-
DesignCon 2003 TecForum I²C-Bus Overview[DESIGN_CON_2003_TECFORUM_I2C_B_1]
お客様の素早い設計とより早い製品化を実現する、技術情報と専門知識をご紹介します。
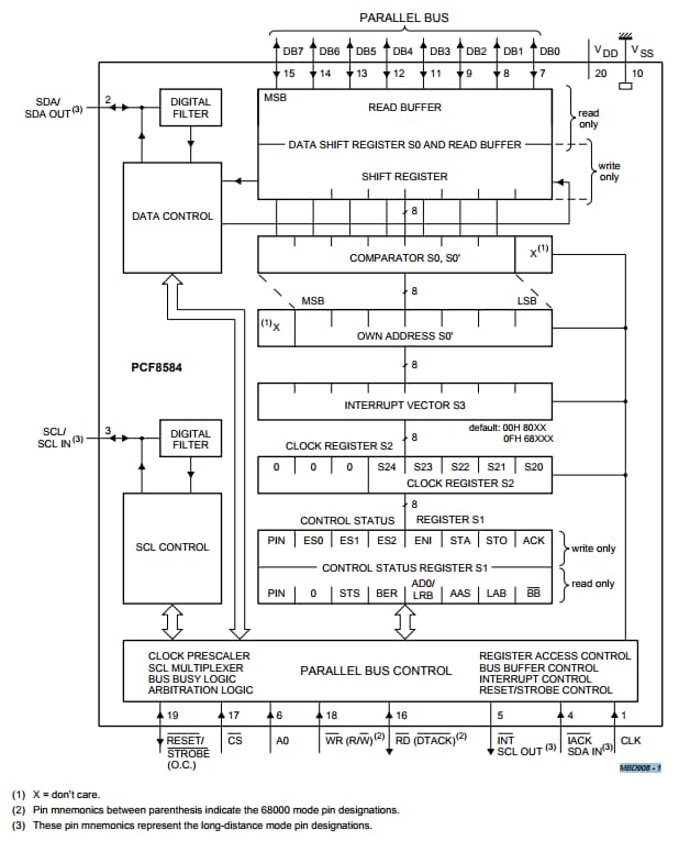
The PCF8584 is an integrated circuit designed in CMOS technology which serves as an interface between most standard parallel-bus microcontrollers/microprocessors and the serial I²C-bus. The PCF8584 provides both controller and target functions.
Communication with the I²C-bus is carried out on a byte-wise basis using interrupt or polled handshake. It controls all the I²C-bus specific sequences, protocol, arbitration and timing. The PCF8584 allows parallel-bus systems to communicate bidirectionally with the I²C-bus.
|
|
|
|
|
|
|
|---|---|---|---|---|---|
|
|
|
|
|
|
|
|
|
|
|
|
|
|
|
|
|
|
|
|
|
|
|
|
|
|
|
|
|
|
|
|
|
|
|
|
|
|
|
|
|
|
|
|
|
|
|
|
|
|
|
|
|
|
|
|
|
|
|
|
|
|
|
|
|
|
|
|
|
|
クイック・リファレンス ドキュメンテーションの種類
1-10 件/全 13 ドキュメント
コンパクトリスト
セキュアファイルの読み込み中、しばらくお待ちください。
2 エンジニアリング・サービス
There are no results for this selection.
この製品をサポートするその他のパートナー製品を見つけるには、当社の Web サイトにアクセスしてください パートナーマーケットプレイス.