SPI ±3.5 g or ±5.0 g XY-Axis, Low-g, Digital Inertial Sensor

  • このページには、製造中止(生産終了)となった製品の情報が記載されています。本ページに記載されている仕様および情報は、過去の参考情報です。

画像にカーソルを合わせると拡大表示されます。

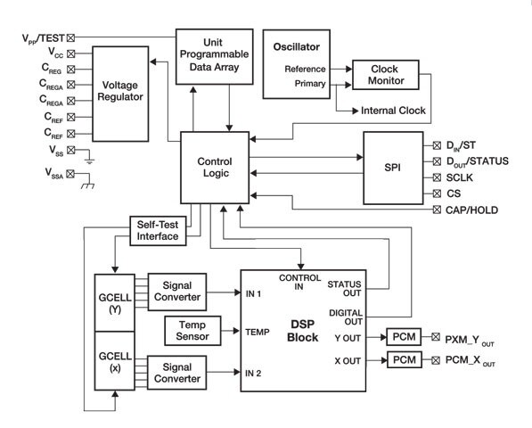
ブロック図

Freescale MMA69xxKQ Acceleration Sensor Block Diagram

MMA69xxKQ Acceleration Sensor Block Diagram

Features

  • Sensitivity in x and y axes
  • ±3.5 or ±5.0 g full-scale range per axis
  • AEC-Q100 qualified, revision G, grade 2 (-40 ≤ TA ≤ 105 °C)
  • 50 Hz second order low-pass filters
  • Unsigned 11-bits digital data output
  • SPI-compatible serial interface
  • Capture/hold input for system-wide synchronization support
  • 3.3 or 5.0-volt single supply operation
  • On-chip temperature sensor and voltage regulator
  • Bi-directional internal self-test
  • Minimal external component requirements
  • Pb-free 16-pin QFN package
  • Pulse-code modulated output available for device evaluation

購入/パラメータ










































































































ドキュメント

クイック・リファレンス ドキュメンテーションの種類

2 ドキュメント

コンパクトリスト

デザイン・ファイル

クイック・リファレンス 設計・ファイルの種類.

1 設計・ファイル

ハードウェア

クイック・リファレンス ボードタイプ.

4 ハードウェア提供

サポート

お困りのことは何ですか??