4-Bit Fm+ I²C-Bus LED Driver

製品画像を見る

製品詳細

ブロック図

図を選択する。:

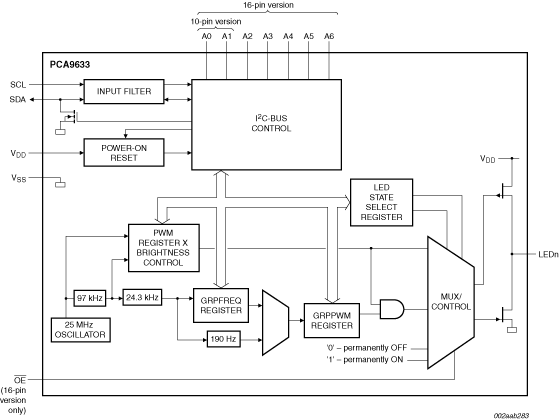
PCA9633 BLOCK DIAGRAM

PCA9633 BLOCK DIAGRAM

Block diagram: PCA9633BS, PCA9633D16, PCA9633DP1, PCA9633DP2, PCA9633PW, PCA9633TK

Features

  • 4 LED drivers. Each output programmable at:
    • Off
    • On
    • Programmable LED brightness
    • Programmable group dimming/blinking mixed with individual LED brightness
  • 1 MHz Fast-mode Plus I²C-bus interface with 30 mA high drive capability on SDA output for driving high capacitive buses
  • 256-step (8-bit) linear programmable brightness per LED output varying from fully off (default) to maximum brightness using a 97 kHz PWM signal
  • 256-step group brightness control allows general dimming (using a 190 Hz PWM signal) from fully off to maximum brightness (default)
  • 256-step group blinking with frequency programmable from 24 Hz to 10.73s and duty cycle from 0 pct to 99.6 pct
  • Four totem pole outputs (sink 25 mA and source 10 mA at 5 V) with software programmable open-drain LED outputs selection (default at totem pole). No input function
  • Output state change programmable on the Acknowledge or the STOP Command to update outputs byte-by-byte or all at the same time (default to 'Change on STOP')
  • Active LOW Output Enable (OE) input pin. LED outputs programmable to '1', '0' or 'high-impedance' (default at power-up) when OE is HIGH, thus allowing hardware blinking and dimming of the LEDs (16-pin version only)
  • 2 hardware address pins (10-pin version) and 7 hardware address pins (16-pin version) allow respectively up to 4 and 126 devices to be connected to the same I²C-bus. No hardware address pins in the 8-pin version
  • 4 software programmable I²C-bus addresses (one LED Group Call address and three LED Sub Call addresses) allow groups of devices to be addressed at the same time in any combination (for example, one register used for 'All Call' so that all the PCA9633s on the I²C-bus can be addressed at the same time and the second register used for three different addresses so that 1/3 of all devices on the bus can be addressed at the same time in a group). Software enables and disables for I²C-bus address
  • Software Reset feature (SWRST Call) allows the device to be reset through the I²C-bus
  • 25 MHz internal oscillator requires no external components
  • Internal power-on reset
  • Noise filter on SDA/SCL inputs
  • Edge rate control on outputs
  • No glitch on power-up
  • Supports hot insertion
  • Low standby current
  • Operating power supply voltage range of 2.3 V to 5.5 V
  • 5.5 V tolerant inputs
  • -40 Cel to +85 Cel operation
  • ESD protection exceeds 2000 V HBM per JESD22-A114, 200 V MM per JESD22-A115, and 1000 V CDM per JESD22-C101
  • Latch-up testing is done to JEDEC Standard JESD78 which exceeds 100 mA
  • Packages offered: SO, TSSOP (MSOP), HVQFN, HVSON

購入/パラメータ










































































































ドキュメント

クイック・リファレンス ドキュメンテーションの種類

1-10 件/全 22 ドキュメント

コンパクトリスト

アプリケーション・ノート (2)
カタログ (4)
サポート情報 (2)
データ・シート (1)
パッケージ情報 (5)
ユーザ・ガイド (3)

設計・リソース

デザイン・ファイル

クイック・リファレンス 設計・ファイルの種類.

5 設計・ファイル

サポート

お困りのことは何ですか??