Universal LCD Driver for Low Multiplex Rates

製品詳細

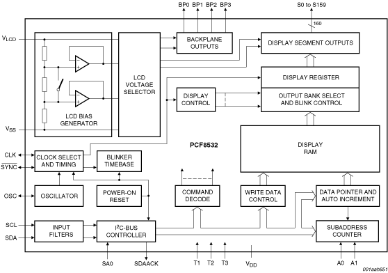
ブロック図

図を選択する。:

PCF8532 Block Diagram

PCF8532 Block Diagram

Block diagram: PCF8532U

Features

  • Single-chip LCD controller and driver for up to 640 elements
  • Selectable backplane drive configuration: static or 2, 3 or 4 backplane multiplexing
  • 160 segment drives:
    • Up to 80 7-segment numeric characters
    • Up to 42 14-segment alphanumeric characters
    • Any graphics of up to 640 elements
  • May be cascaded for large LCD applications (up to 5120 elements possible)
  • 160 × 4-bit RAM for display data storage
  • Software programmable frame frequency in steps of 5 Hz in the range of 60 Hz to 90 Hz
  • Wide LCD supply range: from 1.8 V for low threshold LCDs and up to 8.0 V for guest-host LCDs and high threshold (automobile) twisted nematic LCDs
  • Internal LCD bias generation with voltage-follower buffers
  • Selectable display bias configuration: static, 1/2 or 1/3
  • Wide power supply range: from 1.8 V to 5.5 V
  • LCD and logic supplies may be separated
  • Low power consumption, typical: IDD = 4 μA, IDD(LCD) = 30 μA
  • 400 kHz I²C-bus interface
  • Auto-incremental display data loading across device subaddress boundaries
  • Versatile blinking modes
  • Compatible with Chip-On-Glass (COG) technology
  • Two sets of backplane outputs for optimal COG configurations of the application
  • Display memory bank switching in static and duplex drive modes
  • No external components required
  • Manufactured in silicon gate CMOS process

購入/パラメータ










































































































ドキュメント

クイック・リファレンス ドキュメンテーションの種類

10 ドキュメント

コンパクトリスト

アプリケーション・ノート (5)
セレクタ・ガイド (1)
データ・シート (1)
パッケージ情報 (1)
ホワイト・ペーパ (1)
ユーザ・ガイド (1)

デザイン・ファイル

エンジニアリング・サービス

2 エンジニアリング・サービス

この製品をサポートするその他のパートナー製品を見つけるには、当社の Web サイトにアクセスしてください パートナーマーケットプレイス.

サポート

お困りのことは何ですか??