アプリケーション・ノート (2)
サポート情報 (1)
-
Footprint for wave soldering[SSOP-TSSOP-VSO-WAVE]
データ・シート (1)
パッケージ情報 (1)
ユーザ・ガイド (2)
-
PCA9632 demonstration board OM13269[UM10528]
お客様の素早い設計とより早い製品化を実現する、技術情報と専門知識をご紹介します。
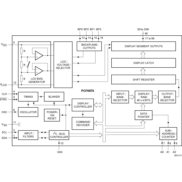
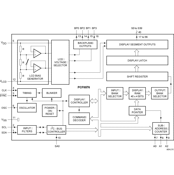
The PCF8576 is a peripheral device which interfaces to almost any Liquid Crystal Display (LCD) with low multiplex rates. It generates the drive signals for any static or multiplexed LCD containing up to four backplanes and up to 40 segments and can easily be cascaded for larger LCD applications. The PCF8576 is compatible with most microprocessors/microcontrollers and communicates via a two-line bidirectional I²C-bus. Communication overheads are minimized by a display RAM with auto-incremented addressing, by hardware subaddressing and by display memory switching (static and duplex drive modes).
|
|
|
|
|
|
|
|---|---|---|---|---|---|
|
|
|
|
|
|
|
|
|
|
|
|
|
|
|
|
|
|
|
|
|
|
|
|
|
|
|
|
|
|
|
|
|
|
|
|
|
|
|
|
|
|
|
|
|
|
|
|
|
|
|
|
|
|
|
|
|
|
|
|
|
|
|
|
|
|
|
|
|
|
クイック・リファレンス ドキュメンテーションの種類
8 ドキュメント
コンパクトリスト
セキュアファイルの読み込み中、しばらくお待ちください。