アプリケーション・ノート (3)
サポート情報 (2)
-
Footprint for wave soldering[HTQFP-HLQFP-LQFP-MSQFP-WAVE]
-
Footprint for wave soldering[SSOP-TSSOP-VSO-WAVE]
お客様の素早い設計とより早い製品化を実現する、技術情報と専門知識をご紹介します。
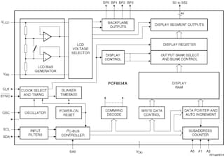
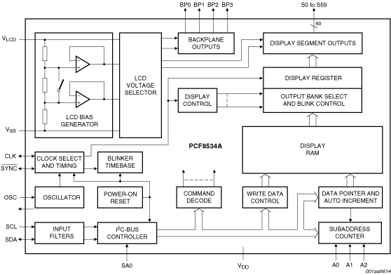
The PCF8534A is a peripheral device which interfaces to almost any Liquid Crystal Display (LCD) with low multiplex rates. It generates the drive signals for any static or multiplexed LCD containing up to four backplanes and up to 60 segments. It can be easily cascaded for larger LCD applications. The PCF8534A is compatible with most microcontrollers and communicates via the two-line bidirectional I²C-bus. Communication overheads are minimized by a display RAM with auto-incremented addressing, by hardware subaddressing, and by display memory switching (static and duplex drive modes).
PCF8534AHL should not be used for new designs. Recommended replacement: PCF85134HL
|
|
|
|
|
|
|
|---|---|---|---|---|---|
|
|
|
|
|
|
|
|
|
|
|
|
|
|
|
|
|
|
|
|
|
|
|
|
|
|
|
|
|
|
|
|
|
|
|
|
|
|
|
|
|
|
|
|
|
|
|
|
|
|
|
|
|
|
|
|
|
|
|
|
|
|
|
|
|
|
|
|
|
|
クイック・リファレンス ドキュメンテーションの種類
8 ドキュメント
コンパクトリスト
セキュアファイルの読み込み中、しばらくお待ちください。