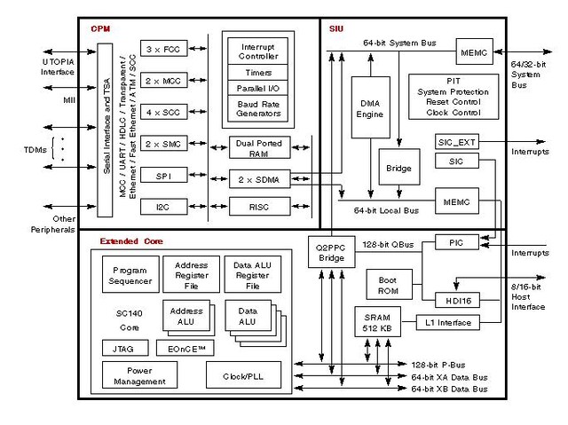
Network-Ready DSP

  • このページには、製造中止(生産終了)となった製品の情報が記載されています。本ページに記載されている仕様および情報は、過去の参考情報です。

画像にカーソルを合わせると拡大表示されます。

ドキュメント

クイック・リファレンス ドキュメンテーションの種類

1-10 件/全 24 ドキュメント

コンパクトリスト

アプリケーション・ノート・ソフトウェア (17)
エラッタ (1)
データ・シート (1)
ファクト・シート (1)
ユーザ・ガイド (1)
リファレンス・マニュアル (2)
製品概要 (1)

設計・リソース

デザイン・ファイル

クイック・リファレンス 設計・ファイルの種類.

2 設計・ファイル

サポート

お困りのことは何ですか??