アプリケーション・ノート (4)
カタログ (2)
データ・シート (1)
-
LCD controllers/drivers[PCF2113_FAM]
パッケージ情報 (1)
-
Wire bond die; 112 bonding pads[OL-PCF2113X]
お客様の素早い設計とより早い製品化を実現する、技術情報と専門知識をご紹介します。
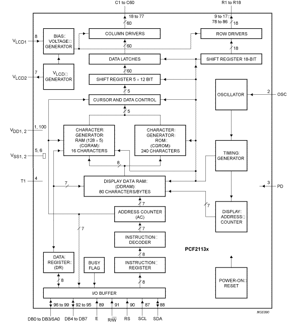
The PCF2113x is a low-power CMOS LCD controller and driver, designed to drive a dot matrix LCD display of 2 lines of 12 characters or 1 line of 24 characters with 5 x 8 dot format. All necessary functions for the display are provided in a single chip, including on-chip generation of LCD bias voltages, resulting in a minimum of external components and lower system current consumption. The PCF2113x interfaces to most microcontrollers via a 4-bit or 8-bit bus or via the 2-wire I²C-bus. The chip contains a character generator and displays alphanumeric and kana (Japanese) characters.
The letter 'x' in PCF2113x characterizes the built-in character set. Various character sets can be manufactured on request.
|
|
|
|
|
|
|
|---|---|---|---|---|---|
|
|
|
|
|
|
|
|
|
|
|
|
|
|
|
|
|
|
|
|
|
|
|
|
|
|
|
|
|
|
|
|
|
|
|
|
|
|
|
|
|
|
|
|
|
|
|
|
|
|
|
|
|
|
|
|
|
|
|
|
|
|
|
|
|
|
|
|
|
|
クイック・リファレンス ドキュメンテーションの種類
10 ドキュメント
コンパクトリスト
セキュアファイルの読み込み中、しばらくお待ちください。