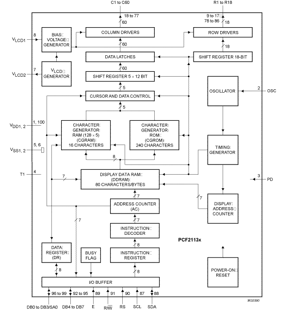
The PCF2113x is a low-power CMOS LCD controller and driver, designed to drive a dot matrix LCD display of 2 lines of 12 characters or 1 line of 24 characters with 5 x 8 dot format. All necessary functions for the display are provided in a single chip, including on-chip generation of LCD bias voltages, resulting in a minimum of external components and lower system current consumption. The PCF2113x interfaces to most microcontrollers via a 4-bit or 8-bit bus or via the 2-wire I²C-bus. The chip contains a character generator and displays alphanumeric and kana (Japanese) characters.
The letter 'x' in PCF2113x characterizes the built-in character set. Various character sets can be manufactured on request.