アプリケーション・ノート (7)
エラッタ (3)
-
Errata sheet P89LPC912[ES_P89LPC912]
-
Errata sheet P89LPC914_2[ES_P89LPC914]
-
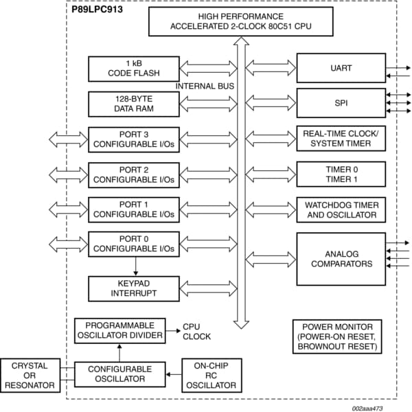
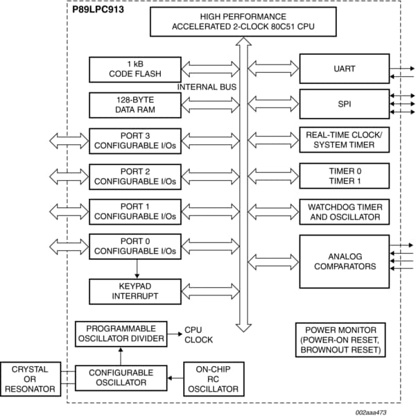
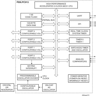
Errata sheet P89LPC913[ES_P89LPC913]
データ・シート (1)
パッケージ情報 (1)
ユーザ・ガイド (1)
-
P89LPC912/913/914 USER MANUAL[UM_P89LPC912_913_914]



