6 Channel LED Backlight Driver with Power Supply

  • このページには、製造中止(生産終了)となった製品の情報が記載されています。本ページに記載されている仕様および情報は、過去の参考情報です。

画像にカーソルを合わせると拡大表示されます。

製品詳細

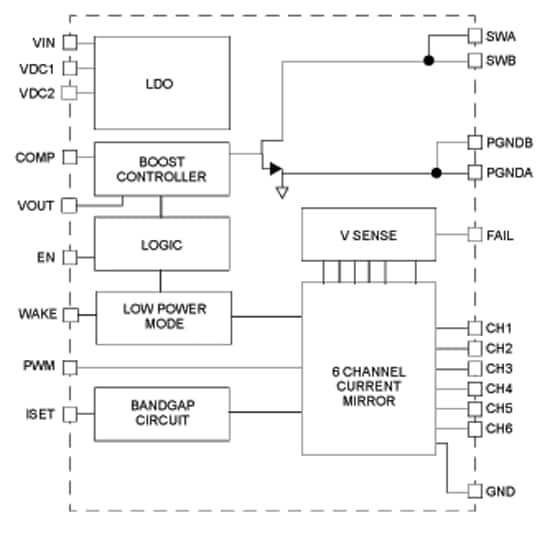
ブロック図

Freescale MC34845 LED Driver Block Diagram

NXP<sup>&#174;</sup> MC34845 LED Driver Block Diagram

Features

Key Features

  • Input voltage of 5 to 21 V
  • Boost output voltage up to 60 V
  • Output current 2.1, 2.35 A
  • 2.0 A integrated boost FET
  • Fixed boost frequency to 300 kHz, 600 kHz or 1.2 MHz
  • OTP, OCP, UVLO fault detection, LED short/open protection
  • Programmable LED current between 3.0 mA and 30 mA
  • 24-Ld 4x4x0.65 mm WQFN Package
  • Parallel interface and input control

Product Longevity Program

ドキュメント

クイック・リファレンス ドキュメンテーションの種類

5 ドキュメント

コンパクトリスト

アプリケーション・ノート (2)
データ・シート (1)
ユーザ・ガイド (1)
製品変更のお知らせ (1)

デザイン・ファイル

サポート

お困りのことは何ですか??