32ビット車載用マイクロコントローラ

  • このページでは、新規設計を推奨しない製品に関する情報を掲載しています。

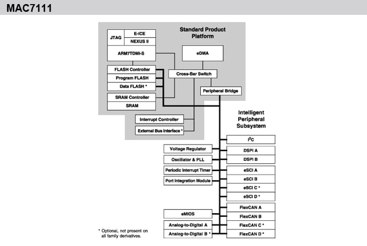
ブロック図

MAC7111ブロック図

MAC7111 Block Diagram

特長

  • 32ビットArm7TDMI-S™ RISCコア、最大50 MHzの動作周波数
  • チャネル・マルチプレクサを搭載した拡張DMA
  • 512 Kバイトのプログラム・フラッシュEEPROM
  • 32 Kバイトのデータ・フラッシュEEPROM
  • 32 KバイトのRAM
  • オフチップ・デバイスをサポートする16ビット外部バス・インターフェース
  • 16チャネル、10ビットADコンバータ (ADC)
  • 16チャネル拡張モジュール型I/Oタイマ・サブシステム
  • 拡張シリアル通信インターフェース x 4
  • CAN 2.0ソフトウェア互換インターフェース x 4
  • シリアル・ペリフェラル・インターフェース (SPI) x 2
  • I²Cバス・インターフェース x 1
  • 10チャネル、24ビット周期割込みタイマ
  • ペリフェラルと共有の112本の汎用入出力ポート・ピン(オプションのウェイクアップ割込み機能と3.3 V~5 Vの入力およびドライブ機能を搭載)
  • 柔軟性の高い割込みコントローラ
  • JTAGテスト・アクセス・ポート (TAP) および組込みICEデバッグ・インターフェース(Nexus Class 2 Plusインターフェースを介したリアルタイムの命令トレースをサポート)
  • フェーズ・ロック・ループによるクロック周波数乗算を駆動する、選択可能な標準または低消費電力ピアス発振器を備えたオンチップ・クロック生成
  • オンチップのデュアル2.5 Vリニア電圧レギュレータ
  • 144ピンLQFPパッケージ

ドキュメント

クイック・リファレンス ドキュメンテーションの種類

1-10 件/全 14 ドキュメント

コンパクトリスト

アプリケーション・ノート (3)
アプリケーション・ノート・ソフトウェア (4)
エラッタ (1)
データ・シート (1)
リファレンス・マニュアル (3)
製品概要 (2)

デザイン・ファイル

ソフトウェア

クイック・リファレンス ソフトウェア・タイプ.

1 ソフトウェア・ファイル

注: より快適にご利用いただくために、ソフトウェアのダウンロードはデスクトップで行うことを推奨します。

サポート

お困りのことは何ですか??