The Philips Semiconductors SCC2691 Universal Asynchronous Receiver/Transmitter (UART) is a single-chip CMOS-LSI communications device that provides a full-duplex asynchronous receiver/transmitter. It is fabricated with Philips Semiconductors CMOS technology which combines the benefits of high density and low power consumption.
The operating speed of the receiver and transmitter can be selected independently as one of 18 fixed baud rates, a 16X clock derived from a programmable counter/timer, or an external 1X or 16X clock. The baud rate generator and counter/timer can operate directly from a crystal or from external clock inputs. The ability to independently program the operating speed of the receiver and transmitter make the UART particularly attractive for dual-speed channel applications such as clustered terminal systems.
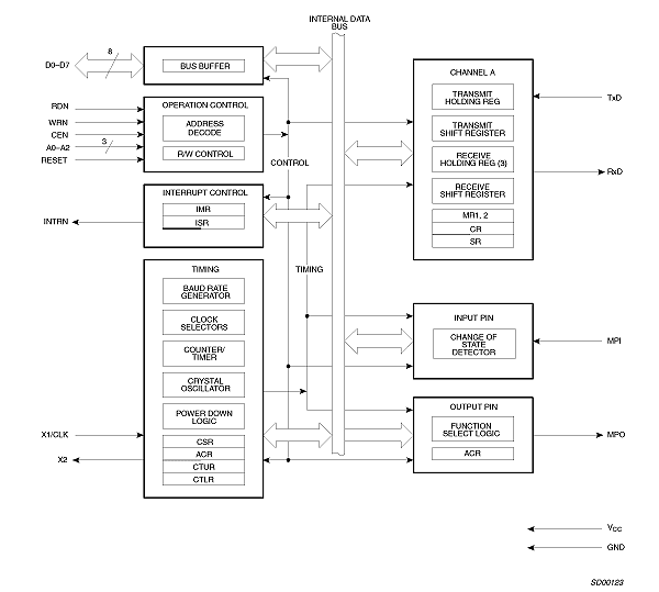
The receiver is quadruple buffered to minimize the potential of receiver overrun or to reduce interrupt overhead in interrupt driven systems. In addition, a handshaking capability is provided to disable a remote UART transmitter when the receiver buffer is full.
The UART provides a power-down mode in which the oscillator is frozen but the register contents are stored. This results in reduced power consumption on the order of several magnitudes.
The UART is fully TTL compatible and operates from a single +5V power supply.