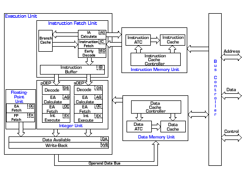
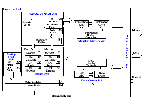
The superscalar MC68060 represents a new line of NXP® Semiconductors microprocessor products. The M68060 product line consists of the MC68060, MC68LC060, and MC68EC060.The MC68EC060 offers superscalar integer performance of over 110 MIPS at 75 MHz. The MC68060 comes fully equipped with both a floating-point unit (FPU) and a memory management unit (MMU) for high-performance embedded control applications. For cost-sensitive embedded control and desktop applications where an MMU is required, but the additional cost of a FPU is not justified, the MC68LC060 offers high performance at a low cost. Specifically designed for low-cost embedded control applications, the MC68EC060 eliminates both the FPU and MMU, permitting designers to leverage MC68060 performance while avoiding the cost of unnecessary features.