アプリケーション・ノート (2)
サポート情報 (1)
-
Footprint for wave soldering[SSOP-TSSOP-VSO-WAVE]
お客様の素早い設計とより早い製品化を実現する、技術情報と専門知識をご紹介します。
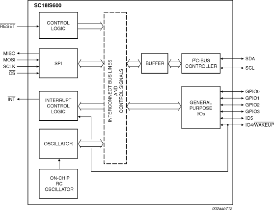
The SC18IS600 is designed to serve as an interface between the standard SPI of a host (microcontroller, microprocessor, chip set, etc.) and the serial I²C-bus. This allows the host to communicate directly with other I²C-bus devices. The SC18IS600 can operate as an I²C-bus controller-transmitter or controller-receiver. The SC18IS600 controls all the I²C-bus specific sequences, protocol, arbitration and timing.
|
|
|
|
|
|
|
|---|---|---|---|---|---|
|
|
|
|
|
|
|
|
|
|
|
|
|
|
|
|
|
|
|
|
|
|
|
|
|
|
|
|
|
|
|
|
|
|
|
|
|
|
|
|
|
|
|
|
|
|
|
|
|
|
|
|
|
|
|
|
|
|
|
|
|
|
|
|
|
|
|
|
|
|
クイック・リファレンス ドキュメンテーションの種類
5 ドキュメント
コンパクトリスト
セキュアファイルの読み込み中、しばらくお待ちください。