アプリケーション・ノート (1)
サポート情報 (1)
-
Footprint for wave soldering[PLCC-WAVE]
データ・シート (1)
パッケージ情報 (1)
-
plastic leaded chip carrier; 44 leads[SOT187-2]
お客様の素早い設計とより早い製品化を実現する、技術情報と専門知識をご紹介します。
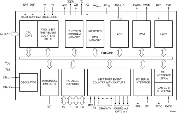
The P8xC591 is a single-chip 8-bit-high-performance microcontroller, with on-chip CAN-controller, derived from the 80C51 microcontroller family.
It uses the powerful 80C51 instruction set and includes the successful PeliCAN functionality of the SJA1000 CAN controller from Philips Semiconductors.
The fully static core provides extended power save provisions as the oscillator can be stopped and easily restarted without loss of data. The improved internal clock prescaler of 1:1 achieves a 500 ns instruction cycle time at 12 MHz external clock rate.
<!--Figure 1 shows a Block Diagram of the P8xC591.--> The microcontroller is manufactured in an advanced CMOS process, and is designed for use in automotive and general industrial applications. In addition to the 80C51 standard features, the device provides a number of dedicated hardware functions for these applications.
Two versions of the P8xC591 will be offered:
Hereafter these versions will be referred to as P8xC591. The temperature range includes (max. fCLK= 12 MHz):
The main differences between P8xC591 and P87C554 are:

CAN Related Features of the 8xC591
PELICAN FEATURES
|
|
|
|
|
|
|
|---|---|---|---|---|---|
|
|
|
|
|
|
|
|
|
|
|
|
|
|
|
|
|
|
|
|
|
|
|
|
|
|
|
|
|
|
|
|
|
|
|
|
|
|
|
|
|
|
|
|
|
|
|
|
|
|
|
|
|
|
|
|
|
|
|
|
|
|
|
|
|
|
|
|
|
|
クイック・リファレンス ドキュメンテーションの種類
4 ドキュメント
コンパクトリスト
セキュアファイルの読み込み中、しばらくお待ちください。