サポート情報 (1)
-
Footprint for wave soldering[PLCC-WAVE]
データ・シート (1)
パッケージ情報 (1)
-
plastic leaded chip carrier; 68 leads[SOT188-2]
お客様の素早い設計とより早い製品化を実現する、技術情報と専門知識をご紹介します。
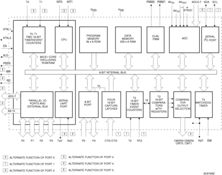
The 80C552/83C552 (hereafter generically referred to as 8XC552) Single-Chip 8-Bit Microcontroller is manufactured in an advanced CMOS process and is a derivative of the 80C51 microcontroller family. The 8XC552 has the same instruction set as the 80C51.
Three versions of the derivative exist:
The 8XC552 contains a non-volatile 8k ? 8 read-only program memory (83C552), a volatile 256 ? 8 read/write data memory, five 8-bit I/O ports, one 8-bit input port, two 16-bit timer/event counters (identical to the timers of the 80C51), an additional 16-bit timer coupled to capture and compare latches, a 15-source, two-priority-level, nested interrupt structure, an 8-input ADC, a dual DAC pulse width modulated interface, two serial interfaces (UART and I²C-bus), a "watchdog" timer and on-chip oscillator and timing circuits. For systems that require extra capability, the 8XC552 can be expanded using standard TTL compatible memories and logic.
In addition, the 8XC552 has two software selectable modes of power reduction?idle mode and power-down mode. The idle mode freezes the CPU while allowing the RAM, timers, serial ports, and interrupt system to continue functioning. The power-down mode saves the RAM contents but freezes the oscillator, causing all other chip functions to be inoperative.
The device also functions as an arithmetic processor having facilities for both binary and BCD arithmetic plus bit-handling capabilities. The instruction set consists of over 100 instructions: 49 one-byte, 45 two-byte, and 17 three-byte. With a 16 MHz (24 MHz) crystal, 58 pct of the instructions are executed in 0.75 us (0.5 us) and 40 pct in 1.5 us (1 us). Multiply and divide instructions require 3 us (2 us).
|
|
|
|
|
|
|
|---|---|---|---|---|---|
|
|
|
|
|
|
|
|
|
|
|
|
|
|
|
|
|
|
|
|
|
|
|
|
|
|
|
|
|
|
|
|
|
|
|
|
|
|
|
|
|
|
|
|
|
|
|
|
|
|
|
|
|
|
|
|
|
|
|
|
|
|
|
|
|
|
|
|
|
|
クイック・リファレンス ドキュメンテーションの種類
3 ドキュメント
コンパクトリスト
セキュアファイルの読み込み中、しばらくお待ちください。