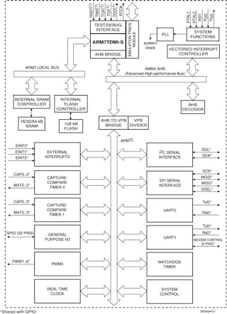
The UART are based on a 16/32-bit Arm7TDMI-S™ CPU with real-time emulation and embedded trace support, together with 128 kB of embedded high speed flash memory. A 128-bit wide memory interface and a unique accelerator architecture enable 32-bit code execution at maximum clock rate. For critical code size applications, the alternative 16-bit Thumb mode reduces code by more than 30 pct with minimal performance penalty.
Due to their tiny size and low power consumption, these microcontrollers are ideal for applications where miniaturization is a key requirement, such as access control and point-of-sale. With a wide range of serial communications interfaces and on-chip SRAM options up to 64 kB, they are very well suited for communication gateways and protocol converters, soft modems, voice recognition and low end imaging, providing both large buffer size and high processing power. Various 32-bit timers, PWM channels, and 32 GPIO lines make these microcontrollers particularly suitable for industrial control and medical systems.
Remark:Throughout the data sheet, the term LPC2104/2105/2106 will apply to devices with and without /00 and /01 suffixes. Suffixes will be used to differentiate devices whenever they include new features.