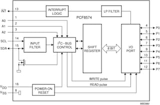
The PCF8574/74A provides general-purpose remote I/O expansion via the two-wire
bidirectional I²C-bus (serial clock (SCL), serial data (SDA)).
The devices consist of eight quasi-bidirectional ports, 100 kHz I²C-bus interface, three
hardware address inputs and interrupt output operating between 2.5 V and 6 V. The
quasi-bidirectional port can be independently assigned as an input to monitor interrupt
status or keypads, or as an output to activate indicator devices such as LEDs. System
controller can read from the input port or write to the output port through a single register.
The low current consumption of 2.5 μA (typical, static) is great for mobile applications and
the latched output ports directly drive LEDs.
The PCF8574 and PCF8574A are identical, except for the different fixed portion of the
target address. The three hardware address pins allow eight of each device to be on the
same I²C-bus, so there can be up to 16 of these I/O expanders PCF8574/74A together on
the same I²C-bus, supporting up to 128 I/Os (for example, 128 LEDs).
The active LOW open-drain interrupt output (INT) can be connected to the interrupt logic
of the microcontroller and is activated when any input state differs from its corresponding
input port register state. It is used to indicate to the microcontroller that an input state has
changed and the device needs to be interrogated without the microcontroller continuously
polling the input register via the I²C-bus.
The internal Power-On Reset (POR) initializes the I/Os as inputs with a weak internal
pull-up 100 μA current source.