アプリケーション・ノート (2)
-
ESD and EMC sensitivity of IC[AN10853]
-
AN10652[AN10652]
データ・シート (1)
-
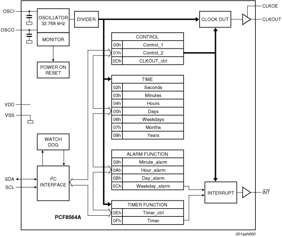
Real time clock and calendar[PCF8564A]
お客様の素早い設計とより早い製品化を実現する、技術情報と専門知識をご紹介します。
The PCF8564A is a CMOS real-time clock and calendar optimized for low power consumption. A programmable clock output, interrupt output and voltage low detector are also provided. All addresses and data are transferred serially via a two-line bidirectional I²C-bus. Maximum bus speed is 400 kbit/s. The built-in word address register is incremented automatically after each written or read data byte.
|
|
|
|
|
|
|
|---|---|---|---|---|---|
|
|
|
|
|
|
|
|
|
|
|
|
|
|
|
|
|
|
|
|
|
|
|
|
|
|
|
|
|
|
|
|
|
|
|
|
|
|
|
|
|
|
|
|
|
|
|
|
|
|
|
|
|
|
|
|
|
|
|
|
|
|
|
|
|
|
|
|
|
|
クイック・リファレンス ドキュメンテーションの種類
5 ドキュメント
コンパクトリスト
セキュアファイルの読み込み中、しばらくお待ちください。