アプリケーション・ノート (1)
-
AN4289, LIN Alternator Regulator Devices[AN4289]注目
お客様の素早い設計とより早い製品化を実現する、技術情報と専門知識をご紹介します。
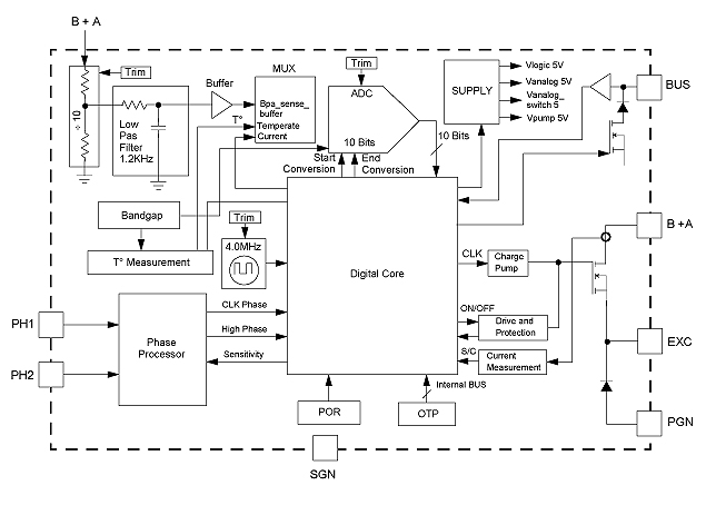
The TC80310 is designed to provide customers a complete system-on-die solution ,capable of managing the electrical parameters of an Alternator, with rotor excitation current up to 8A, using High Side Excitation technology combined with a Free Wheeling Diode. This new IC can control and diagnose the Alternator by using a standard and robust LIN 1.3 protocol. It also includes Load Response Control (LRC), Thermal Compensation combined with Thermal protection and a Self-Start operation (available in case of LIN disconnection), which are capabilites possible because of a long term NXP® background in the Alternator Regulator market.
Refer to Table 1, in the data sheet, for the factory programmed options. Contact sales for samples and ordering criteria.
クイック・リファレンス ドキュメンテーションの種類
セキュアファイルの読み込み中、しばらくお待ちください。