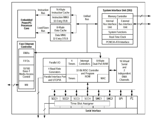
The MPC862 Quad Integrated Communications Controller (PowerQUICC™) is a versatile one-chip integrated microprocessor and peripheral combination that can be used in a variety of controller applications. It particularly excels in both communications and networking systems.
The MPC862 is a Power Architecture-based derivative of NXP® Semiconductors' MC68360 Quad Integrated Communications Controller (QUICC™). The embedded CPU on the MPC862 is a 32-bit processor (the MPC8xx core) that is built on Power Architecture and incorporates memory management units (MMUs) and instruction and data caches. The communications processor module (CPM) from the MC68360 QUICC has been enhanced by the addition of the inter-integrated controller (I²C) channel. The memory controller has been enhanced, enabling the MPC862 to support any type of memory, including high-performance memories and new types of DRAMs. A PCMCIA socket controller supports up to two sockets. A real-time clock has also been integrated.