アプリケーション・ノート (1)
データ・シート (1)
-
Low Power Clock and Calendar[PCF8593]
お客様の素早い設計とより早い製品化を実現する、技術情報と専門知識をご紹介します。
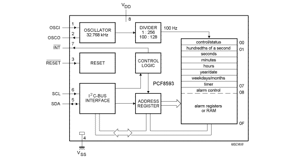
The PCF8593 is a CMOS1 clock and calendar circuit, optimized for low power consumption. Addresses and data are transferred serially via the two-line bidirectional I²C-bus. The built-in word address register is incremented automatically after each written or read data byte. The built-in 32.768 kHz oscillator circuit and the first 8 bytes of the RAM are used for the clock, calendar, and counter functions. The next 8 bytes can be programmed as alarm registers or used as free RAM space.
|
|
|
|
|
|
|
|---|---|---|---|---|---|
|
|
|
|
|
|
|
|
|
|
|
|
|
|
|
|
|
|
|
|
|
|
|
|
|
|
|
|
|
|
|
|
|
|
|
|
|
|
|
|
|
|
|
|
|
|
|
|
|
|
|
|
|
|
|
|
|
|
|
|
|
|
|
|
|
|
|
|
|
|
クイック・リファレンス ドキュメンテーションの種類
6 ドキュメント
コンパクトリスト
セキュアファイルの読み込み中、しばらくお待ちください。