アプリケーション・ノート (1)
-
ESD and EMC sensitivity of IC[AN10853]
データ・シート (1)
パッケージ情報 (1)
ユーザ・ガイド (2)
-
PCA9632 demonstration board OM13269[UM10528]
お客様の素早い設計とより早い製品化を実現する、技術情報と専門知識をご紹介します。
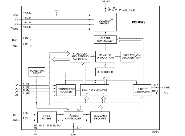
The PCF8579 is a low power CMOS LCD column driver, designed to drive dot matrix graphic displays at multiplex rates of 1:8, 1:16, 1:24 or 1:32. The device has 40 outputs and can drive 32 x 40 dots in a 32 row multiplexed LCD. Up to 16 PCF8579 can be cascaded and up to 32 devices may be used on the same I²C-bus (using the two target addresses). The device is optimized for use with the PCF8578 LCD row/column driver. Together these devices form a general purpose LCD dot matrix driver chip set, capable of driving displays of up to 40960 dots. The PCF8579 is compatible with most microcontrollers and communicates via a two-line bidirectional bus (I²C-bus). To allow partial VDD shutdown the ESD protection system of the SCL and SDA pins does not use a diode connected to VDD. Communication overhead is minimized by a display RAM with auto-incremented addressing and display bank switching.
|
|
|
|
|
|
|
|---|---|---|---|---|---|
|
|
|
|
|
|
|
|
|
|
|
|
|
|
|
|
|
|
|
|
|
|
|
|
|
|
|
|
|
|
|
|
|
|
|
|
|
|
|
|
|
|
|
|
|
|
|
|
|
|
|
|
|
|
|
|
|
|
|
|
|
|
|
|
|
|
|
|
|
|
クイック・リファレンス ドキュメンテーションの種類
6 ドキュメント
コンパクトリスト
セキュアファイルの読み込み中、しばらくお待ちください。