The MSC8251 is based on the industry's highest performance DSP core built on StarCore® technology and designed for the advanced processing requirements and capabilities of high-end medical imaging, aerospace, defense and advanced test and measurement markets. It delivers higher performance, leveraging 45 nm process technology in a highly integrated DSP to provide performance of 1 GHz. The MSC8251 helps equipment manufacturers create end products and services that integrate more functionality in a smaller hardware footprint.
The MSC8251 DSP delivers a high level of performance and integration with a fully programmable SC3850 core running at up to 1 GHz. The SC3850 DSP core has been independently assessed to enable 40 percent more processing capability per MHz than the nearest DSP competition. A high performance internal RISC-based QUICC Engine® subsystem supports multiple networking protocols to guarantee reliable data transport over packet networks while significantly offloading processing from the DSP cores.
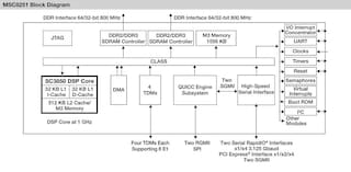
The MSC8251 embeds a substantial amount of internal memory to support a variety of advanced high-speed interface types, including two serial RapidIO® interfaces, two gigabit Ethernet interfaces for network communications, a PCI Express® controller, two DDR controllers for high-speed industry standard memory interface and four multichannel TDM interfaces. The MSC8251 allows a high degree of scalability through pin compatibility with all MSC825x and MSC815x DSP devices.