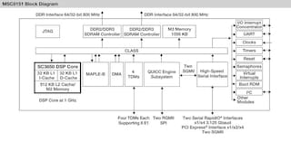
The MSC8151 is the industry’s highest performance single-core DSP based on NXP®.s SC3850 StarCore® technology with added performance from a multi-accelerator platform engine (MAPLE-B) for fast Fourier transforms (FFT) and inverse fast Fourier transforms (iFFT), discrete Fourier transforms (DFT) and inverse Discrete Fourier Transforms (iDFT), Turbo and Viterbi decoding. The MAPLE-B accelerator supports the advanced processing requirements and capabilities of high-end medical, aerospace and defense and advanced test and measurement markets. It delivers higher performance, leveraging 45 nm process technology in a highly integrated DSP to provide performance up to 1 GHz. The MSC8151 helps equipment manufacturers create end products and services that integrate more functionality in a smaller hardware footprint.