The MSC8254 is based on the industry's highest-performance DSP core built on StarCore® technology and designed for the advanced processing requirements and capabilities of today’s high-performance medical imaging, aerospace, defense and advanced test and measurement markets. It delivers higher performance and power savings, leveraging 45 nm process technology in a highly integrated system-on-chip (SoC) to provide performance equivalent to 4 GHz of a single-core device. The MSC8254 helps equipment manufacturers create end products and services that integrate more functionality in a smaller hardware footprint.
The MSC8254 DSP delivers a high level of performance and integration, combining four fully programmable enhanced, SC3850 DSP cores, each running at up to 1 GHz. The SC3850 DSP core has been independently assessed to enable 40 percent more processing capability per MHz than the nearest DSP competition. A high-performance internal RISC-based QUICC Engine® subsystem supports multiple networking protocols to guarantee reliable data transport over packet networks while significantly offloading processing from the DSP cores.
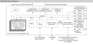
The MSC8254 embeds a substantial amount of internal memory to support a variety of advanced high-speed interface types, including two RapidIO® interfaces, two gigabit Ethernet interfaces for network communications, a PCI Express® controller, two DDR controllers for high-speed, industry standard memory interface and four multichannel TDM interfaces. The MSC8254 allows a high degree of scalability through pin compatibility with all MSC825x and MSCC815x DSP devices.