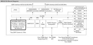
The MSC8152 is the industry's highest performance, dual-core DSP based on NXP®.s SC3850 StarCore® technology with added performance from a multi-accelerator platform engine (MAPLE-B) for fast Fourier transforms (FFT) and inverse fast Fourier transforms (iFFT), discrete Fourier transforms (DFT) and inverse discrete Fourier transforms (iDFT), Turbo and Viterbi decoding. The MAPLE-B accelerator is designed for the advanced processing requirements and capabilities of today’s high-performance medical, aerospace and defense and advanced test and measurement markets. It delivers higher performance and power savings, leveraging 45 nm process technology in a highly integrated system-on-chip (SoC) to provide performance equivalent to a 2 GHz single-core device. The MSC8152 helps equipment manufacturers create end products and services that integrate more functionality in a smaller hardware footprint.