アプリケーション・ノート (3)
サポート情報 (1)
-
Footprint for reflow soldering[SSOP-TSSOP-VSO-REFLOW]
お客様の素早い設計とより早い製品化を実現する、技術情報と専門知識をご紹介します。
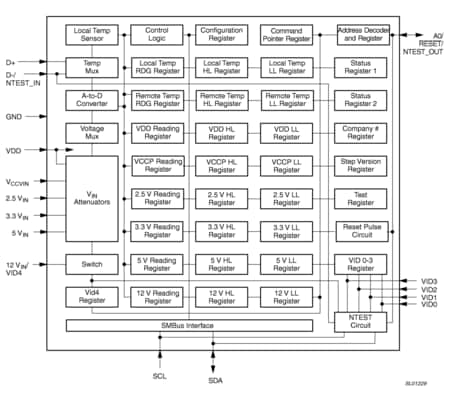
The NE1619 is designed for monitoring the temperatures and supply voltages of microprocessor-based systems by measuring those parameters and comparing the readings with programmable limits. The device provides five possible analog inputs, a remote temperature sensor input and on-board local temperature sensor. The device also monitors its own power supply and provides digital inputs for the Pentium/PRO power supply ID code.
The device communicates with the system controller via an SMBus (System Management bus) by which it can be programmed for operation and data collection. Readings come from conversions of the on-board A-to-D converter which cycles through all measurements in sequence in approximately one second when the conversion is started. The device includes a number of registers to store data of the device configuration, status, readings and limits. Except for the temperature-related data which are in 8-bit digital 2's complement format, all the data are in 8-bit digital straight format.
|
|
|
|
|
|
|
|---|---|---|---|---|---|
|
|
|
|
|
|
|
|
|
|
|
|
|
|
|
|
|
|
|
|
|
|
|
|
|
|
|
|
|
|
|
|
|
|
|
|
|
|
|
|
|
|
|
|
|
|
|
|
|
|
|
|
|
|
|
|
|
|
|
|
|
|
|
|
|
|
|
|
|
|
クイック・リファレンス ドキュメンテーションの種類
9 ドキュメント
コンパクトリスト
セキュアファイルの読み込み中、しばらくお待ちください。