お客様の素早い設計とより早い製品化を実現する、技術情報と専門知識をご紹介します。
Archived content is no longer updated and is made available for historical reference only.
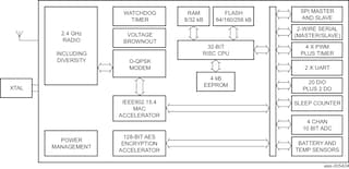
The NXP® JN516X-EK001 evaluation kit is specifically designed for use with the NXP JN516x series, a range of ultra-low-power, high-performance wireless microcontrollers suitable for JenNet-IP, RF4CE remote control and ZigBee applications. This comprehensive kit, which includes a series of wireless carrier boards, plug-in expansion boards, USB dongles, a remote control, a specially programmed Cisco router, and a complete software design kit, provides everything necessary for system development. The supplied router, which runs NXP OpenWRT firmware modified by NXP, makes it easy to develop solutions that include sensor-equipped objects as part of the "Internet of Things". Using the various demos included in the kit, designers can quickly produce demonstrators or proof-of-concept products. The same software can then be used for end products, using JN516X ICs or modules. Click here for support documentation.