Enhanced Octal Universal Asynchronous Receiver/Transmitter (Octal UART)

  • このページには、製造中止(生産終了)となった製品の情報が記載されています。本ページに記載されている仕様および情報は、過去の参考情報です。

製品詳細

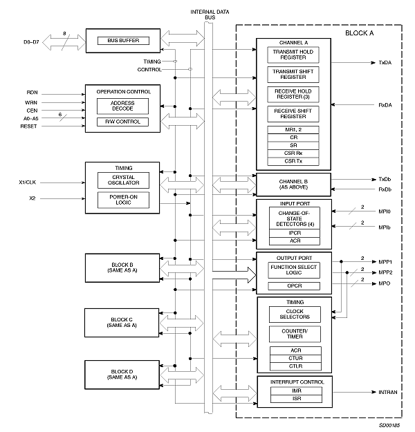
ブロック図

SCC2698BC1A84, SCC2698BE1A84

SCC2698BC1A84, SCC2698BE1A84 Block Diagram

Features

Key Features

  • Eight full-duplex independent asynchronous receiver/transmitters
  • Quadruple buffered receiver data register
  • Parity, framing and overrun error detection
  • False start bit detection
  • Line break detection and generation
  • Four multi-function programmable 16-bit counter/timers
  • Four interrupt outputs with eight maskable interrupting conditions for each output
  • Receiver ready/FIFO full and transmitter ready status available on 16 multi-function pins in PLCC package
  • On-chip crystal oscillator
  • TTL compatible
  • Single +5 V power supply with low power mode
  • Eight multi-purpose output pins
  • Sixteen multi-purpose I/O pins
  • Sixteen multi-purpose Input pins with pull-up resistors

Programmable Data Format

  • 5 to 8 data bits plus parity
  • Odd, even, no parity or force parity
  • 1, 1.5 or 2 stop bits programmable in 1/16-bit increments

Baud Rate for The Receiver and Transmitter Selectable

  • 26 fixed rates: 50 to 38.4 K baud
  • Non-standard rates to 115.2 K baud
  • User-defined rates from the programmable counter/timer associated with each of four blocks
  • External 1x or 16x clock

Programmable Channel Mode

  • Normal (full-duplex), automatic echo, local loop back, remote loopback

購入/パラメータ










































































































ドキュメント

クイック・リファレンス ドキュメンテーションの種類

7 ドキュメント

コンパクトリスト

アプリケーション・ノート (4)
サポート情報 (1)
データ・シート (1)
パッケージ情報 (1)

デザイン・ファイル

サポート

お困りのことは何ですか??