サポート情報 (1)
-
Footprint for reflow soldering[SSOP-TSSOP-VSO-REFLOW]
お客様の素早い設計とより早い製品化を実現する、技術情報と専門知識をご紹介します。
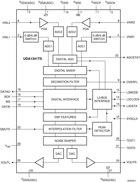
The UDA1341TS is a single-chip stereo Analog-to-Digital Converter (ADC) and Digital-to-Analog Converter (DAC) with signal processing features employing bitstream conversion techniques. It's fully integrated analog front end, including Programmable Gain Amplifier (PGA) and a digital Automatic Gain Control (AGC). Digital Sound Processing (DSP) featuring makes the device an excellent choice for primary home stereo MiniDisc applications, but by virtue of its low power and low voltage characteristics it is also suitable for portable applications such as MD/CD boom boxes, notebook PCs and digital video cameras.
The UDA1341TS is similar to the UDA1340M and the UDA1344TS but adds features such as digital mixing of two input signals and one channel with a PGA and a digital AGC.
The UDA1341TS supports the I²S-bus data format with word lengths of up to 20 bits, the MSB-justified data format with word lengths of up to 20 bits, the LSB-justified serial data format with word lengths of 16, 18 and 20 bits and three combinations of MSB data output combined with LSB 16, 18 and 20 bits data input. The UDA1341TS has DSP features in playback mode like de-emphasis, volume, bass boost, treble and soft mute, which can be controlled via the L3-interface with a microcontroller.
|
|
|
|
|
|
|
|---|---|---|---|---|---|
|
|
|
|
|
|
|
|
|
|
|
|
|
|
|
|
|
|
|
|
|
|
|
|
|
|
|
|
|
|
|
|
|
|
|
|
|
|
|
|
|
|
|
|
|
|
|
|
|
|
|
|
|
|
|
|
|
|
|
|
|
|
|
|
|
|
|
|
|
|
クイック・リファレンス ドキュメンテーションの種類
3 ドキュメント
コンパクトリスト
セキュアファイルの読み込み中、しばらくお待ちください。